Nvidia pursues a patent on a method for computing future trajectory predictions in multi-actor environments. This week’s newest patent applications are from Nvidia, Roche, Boston Scientific, Merck, Abbott, Medtronic, Mastercard, Intel, Apple, Microsoft, and IBM.

Nvidia Pursues a Patent on a Method for Computing Future Trajectory Predictions in Multi-Actor Environments
U.S. patent application, US20210295171, discloses a method for computing information corresponding to future trajectories of actors in a multi-actor environment by Nvidia. The method includes applying the past location information corresponding to the actors and map information to a deep neural network (DNN). The output of the DNN includes, for each future time slice, a confidence map representing the confidence for each pixel that an actor is present and a vector field representing locations of actors in confidence maps for prior time slices. The figure below depicts a visual representation of actors, associated trajectories, wait conditions, and a road structure.

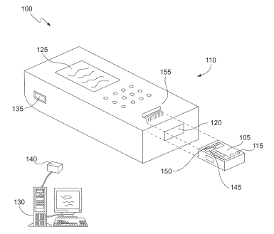
Roche Seeks to Patent a Point of Care Testing (POCT) Instrument and System
U.S. patent application, US20210295959, discloses a POCT instrument for analyzing biological samples. The system comprises a housing, a measurement unit designed for collecting data indicative of a biological parameter of the biological sample, a main display, and an auxiliary display. The figure below represents the POCT instrument.
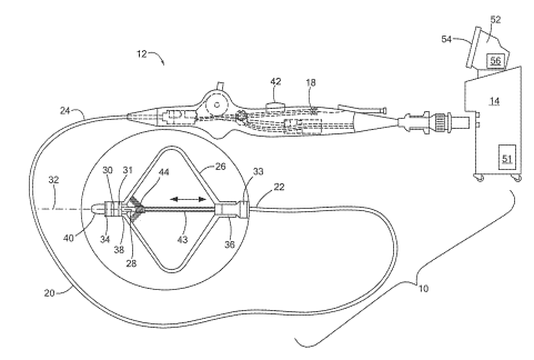
Boston Scientific Files a Patent for a Navigation-Enabled Cryoablation System
U.S. patent application, US20210290284, discloses a cryoablation catheter for tracking and displaying the location of the catheter within a cardiac chamber of interest. The catheter includes a location sensor to generate a cryoablation location signal when the sensor is within a magnetic localization field. The figure below illustrates a portion of the cryoablation catheter system.
Merck Files a Patent for a Novel Light Luminescent Particle
U.S. patent application, US20210292644, relates to a novel light luminescent particle that comprises a nanosized fluorescent material, and a matrix material. The matrix material can prevent quantum yield drop of the nanosized fluorescent material in a fabrication process of the light luminescent particle, and have better barrier properties from oxygen and/or moisture. The novel light luminescent particle also contains a porous medium, a pore, and one nanosized fluorescent material in the pore.
Abbott Seeks to Patent Devices for Performing Multiple Assays
U.S. patent application, US20210293740, discloses a system for performing optical and electrochemical assays on a biological sample that includes universal channel circuitry. The circuitry has electronic switching capabilities such that any contact pin, and thus any sensor contact pad in a testing device, can be connected to one or more channels thereby capable of taking on different modes. The figure below depicts a self-contained disposable testing device and a reading apparatus.
Medtronic Eyes a Patent for a Pulmonary Vein Ablation and Occlusion Monitoring Device
U.S. patent application, US20210290285, discloses a cryoablation device that includes a cryoballoon catheter, a distal electrode, a proximal electrode, and a temperature sensor. The device allows real-time accurate assessment and monitoring of ice formation during pulmonary vein cryoablation by using impedance measurements recorded by the electrodes. The figure below illustrates a cryo treatment system including the cryoballoon catheter.
Mastercard Wants to Patent a Method for Transferring Digital Tokens to and from a Physical Card
U.S. patent application, US20210295331, discloses a method for receiving digital tokens issued from a central bank and transferring the digital tokens to a physical payment card. The physical payment card is used with a point of sale (POS) at a third-party provider/merchant. The POS verifies the digital signature of the plurality of digital tokens on the payment card and deducts a required number of tokens for the service or product purchased by a user at the third-party provider/merchant.
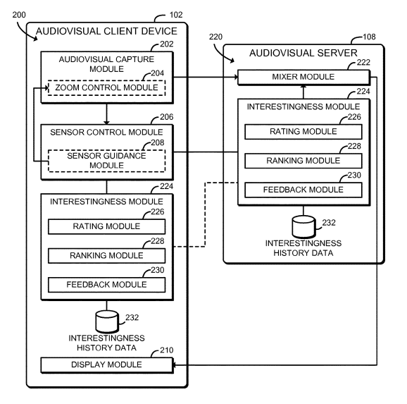
Intel Aims to Patent an Audiovisual Communication System Using Interestingness Algorithms
U.S. patent application, US20210297464, discusses an audiovisual communication system that includes an audiovisual server and audiovisual client devices. Each client device captures an audiovisual stream and sensor data such as eye-tracking data or facial expression data and transmits the captured data to the server. The server determines an interestingness rating based on the received data and selects one or more audiovisual streams based on the rating. The figure below charts the audiovisual communication system.
Apple Eyes a Patent for Estimating the Height of a Person
U.S. patent application, US20210295548, discloses a method for estimating the height of a person. The method includes determining a first position on the head of a person, a second position on a floor below the first position in a three-dimensional (3D) coordinate system, and estimating the height based on a distance between the first and the second positions. The first position is based on detecting a feature on the head in a two-dimensional (2D) image of the person in a physical environment. The figure shows an example of an operating environment.
Microsoft Aims to Patent an Interface for Machine Learning Modeling
U.S. patent application, US20210295202, describes a machine learning model that is configured by instantiating a user interface for communicating with a machine learning model hosted on a collaborative computing platform. The user interface receives file selection, content selection directory selection, and instructions for applying them and sends them to the machine learning model. The figure below illustrates the interface for configuring the machine learning model.
IBM Seeks to Patent a Smart Toothbrush to Track and Remove Dental Plaque
U.S. patent application, US20210290070, discloses a plaque removal system. The system includes a smart toothbrush with optical sensors and light sources, a smart device for analyzing data from light sources and optical sensors, and a user’s smartphone as a plaque removal server. The figure below illustrates the smart toothbrush emitting light through its light guiding bristles and detecting the amount of light reflected by a tooth through the optical sensors.






