Waymo pursues a patent on a method for automatically labeling objects in sensor data. This week’s newest patent applications are from Waymo, Boston Scientific, Merck, Medtronic, Roche, PayPal, Intel, IBM, Apple, and Microsoft.
Waymo Pursues a Patent on a Method for Automatically Labeling Objects in Sensor Data
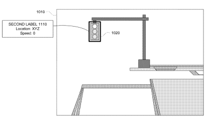
U.S. patent application, US20210303956, discloses a method for automatically generating labels for sensor data. The method includes identifying, first sensor data for a vehicle, wherein the first sensor data is associated with a first label for an object; identifying, second sensor data for a vehicle, wherein the second sensor data was captured at a point in time different from the first sensor data. The method further includes using the first label to automatically generate a second label for the second sensor data, upon determining that the object is a static object. The figures below depict Light Detection and Ranging (LIDAR) sensor data, a first label and a second label.

Boston Scientific Files a Patent for an Endoscope Cleaning Device
U.S. patent application, US20210298586, discloses a device for cleaning an endoscope. The device includes a shaft coupled to a control unit and a cleaning member, where the control unit moves the cleaning member. The figure below depicts the use of the cleaning assembly with the endoscope.
Merck Files a Patent for Cytomegalovirus Stable Formulations
U.S. patent application, US20210299247, relates to stable formulations of a cytomegalovirus (CMV) including a genetically modified CMV that is conditionally replication-defective, a buffer, alkali or alkaline salt, a sugar, a cellulose derivative, and optionally a polyol. The formulation is a reconstituted solution with water or saline, where the CMV is a live attenuated CMV, a killed CMV or an inactivated CMV.
Medtronic Aims to Patent an Automatic Identification System of Instruments and a Heart Valve Prosthesis
U.S. patent application, US20210298844, discloses an automatic instrument identification system that provides information about its specific type, size, number of uses, and use during a procedure or preparation for a procedure to a surgical navigation system using various reader systems. The figure below illustrates an instrument and a reader system for automatic identification of the instrument.
Another application, US20210298895, discloses a heart valve prosthesis for treating cardiac valve dysfunction. The valve includes a self-expanding multi-level frame, a valve body having a skirt, and multiple coapting leaflets. The frame transitions between a contracted delivery configuration to an expanded asymmetric hourglass-shaped deployed configuration. The figure below depicts the valve prosthesis in the expanded deployed configuration.
Roche Eyes a Patent for Pharmaceutical Compositions for the Prevention and Treatment of a C5-Related Disease
U.S. patent application, US20210301004, relates to a method for preventing a C5-related disease through the intravenous administration of anti-C5 antibody or pharmaceutical compositions containing the anti-C5 antibody.
PayPal Seeks to Patent a Method for Facilitating Electronic Financial Transactions During a Phone Call
U.S. patent application, US20210304181, discusses using an in-call payment application (app) on a mobile phone displaying a custom in-call screen having a clickable/tappable payment button that allows a payer to electronically transfer money while in a phone call with a payee. The app allows the payer/payee to simply enter a payment amount on the phone to complete an electronic payment transaction and instantly transmits a notification of the payment to both parties for safely concluding a transaction during the phone call.
Intel Wants a Patent for a Method of Autonomous Driving Assisted By a Roadway Navigation Broadcast
U.S. patent application, US20210302997, relates to a method for computer-assisted or autonomous driving (CA/AD) vehicles to make driving adjustments using a roadway navigation broadcast. The method includes a CA/AD vehicle receiving indications of a condition of locations of a roadway, encoded in navigation signals and broadcast by transmitters as the CA/AD vehicle drives past the locations en route to a destination. The CA/AD vehicle determines driving adjustments based on the received indications. The figure below shows example implementations of the CA/AD vehicles interacting with the roadway navigation broadcast.
IBM Seeks to Patent a Method for Semantic Correction of Messages
U.S. patent application, US20210303797, discloses a method for semantic correction of text messages. The method includes semantically analyzing a second message to determine whether the second message contains any modification of a first message and automatically modifying the first message with the modification in response to the semantic analysis of the second message. The figure below illustrates a method for correcting a word in an unread message and in a read message.
Microsoft Seeks a Patent for a Matrix-Based Bot Implementation
U.S. patent application, US20210303799, describes a matrix-based bot implementation method that responds to a query, where the matrix includes a plurality of scenarios and questions corresponding to the plurality of responses. A plurality of scripts includes at least one question, one response, and one scenario. The bots respond to the query based on comparing the scripts to pre-existing scripts. The figure below illustrates a conversation scenario matrix.
Apple Eyes a Patent for Controlling Electronic Devices Based on Wireless Ranging
U.S. patent application, US20210307093, discloses a method for controlling electronic devices based on wireless ranging. The method includes a wireless communication device identifying an intent gesture performed by a user indicating the intent to control an object, determining the associated object using wireless ranging and/or device orientation, interpreting sensor data from one or more sensors associated with the wireless communication device to determine an action gesture and transmitting the command value to control the object. The figure illustrates an up and/or down action gesture used to vary the settings or the position of an object.











