China Petroleum pursues a patent on a process for catalytic cracking of hydrocarbon oils. This week’s newest patent applications are from China Petroleum, Abbott, Medtronic, Boston Scientific, Novartis, Merck, PayPal, IBM, Apple, Intel, and Microsoft.

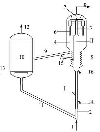
China Petroleum Pursues a Patent on a Process for Catalytic Cracking of Hydrocarbon Oils
U.S. patent application, US20210317373, discloses a process for catalytic cracking of hydrocarbon oils for lower yields of dry gas and coke, and good product distribution. The process includes contacting a hydrocarbon oil feedstock with a catalytic cracking catalyst in a reactor comprising a dilute-phase transport fluidized bed and a fast fluidized bed connected in series for reaction. The process further includes controlling an axial solid fraction c of the catalyst within the range of about 0.1 to about 0.2 in the fast fluidized bed. The figure below illustrates a setup for performing the catalytic cracking of heavy feedstock oils.

Abbott Files a Patent Application on a System for Transferring Liquids and Performing Reactions
U.S. patent application, US20210316297, discloses a system for transferring liquids and processing biological reactions in nucleic acid amplification procedures. The liquid transfer device includes a housing having a pipette tip, and a plunger assembly, that engages with a reaction chamber. The figure below illustrates the device with three subassemblies: a transfer device, an amplification chamber, and an elution container.

Medtronic Aims to Patent an Alzheimer’s Disease Treatment Means
U.S. patent application, US20210316069, discloses an implantable glymphatic pump to flush metabolites from the brain parenchyma of a patient. The pump draws a cerebrospinal fluid (CSF) from an intrathecal space of a patient’s spine via a spinal catheter and then reintroduces the CSF to the brain parenchyma of the patient via a cranial catheter to encourage a flow of the CSF through the brain parenchyma. The figure below depicts the pump implanted within the body of the patient.
Boston Scientific Eyes a Patent on a User Interface for a Custom Patterned Electrical Stimulation
U.S. patent application, US20210316150, discloses a user interface for a neurostimulation system. The user interface includes a display screen, a user input device, and a neurostimulation program circuit including a program creation and a scheduling module to schedule the delivery of the neurostimulation programs. The figure below illustrates the program creation area on a display screen of the user interface.
Novartis Eyes a Patent for Polymer Precipitation Systems
U.S. patent application, US20210317235, discloses processes for precipitating a polymer from a polymer-containing fluid. The polymer-containing fluid and an anti-solvent are introduced into a vessel that houses a medium, which precipitates a portion of the polymer on the precipitation surfaces. The precipitated polymer is collected from the medium for drying and stored for generating nanoparticles. The figure below depicts the system for generating nanoparticles.
Merck Files a Patent for Fluorine Compounds
U.S. patent application, US20210317259, relates to water-based coating formulations. The formulations comprise fluorosurfactants or fluorine-based compounds that can be used as paint and coating preparations, fire-extinguishing compositions, lubricants, washing and cleaning compositions, de-icers or developer solutions, rinse solutions, immersion oils, and photoresists for photolithographic processes, agrochemicals, floor polishes, cosmetic products, compositions for textile finishing and glass treatment. The figure below depicts the chemical structure:
Roche Files a Patent Application for Tagged Nucleotides
U.S. patent application, US20210317521, relates to compounds comprising a negatively charged polymer moiety, which is capable of entering a nanopore. The polymer moiety upon entering a nanopore in the presence of positive ions results in an increased flow of positive ions through the nanopore. Because of their ability to increase the flow of positive ions through the nanopores, the compounds comprising negatively charged polymer moiety can be used as nanopore-detectable tags.
PayPal Seeks to Patent a Method for Providing a Secure Login Using a QR Code
U.S. patent application, US20210319426, discloses a method for allowing a user using a trusted device to securely transact with a website from untrusted devices. The method includes enabling the user to scan a quick response (QR) code on a display of the untrusted device using the trusted device to supply sensitive information to an identity provider where the identity provider validates the QR code and uses the code to broker a transaction with the website in the untrusted device without exposing sensitive information to unauthorized parties running a malware/spyware on the untrusted device.
IBM Wants to Patent a Method for the Prevention of Majority Attacks in Blockchain Networks
U.S. patent application, US20210320797, discusses a method for the prevention of majority attacks through network trust governance in blockchain networks. The method includes selecting, by a trust maintainer node, at least two blockchain nodes to be assigned as non-human intelligent nodes controlled by separate consortiums; identifying a plurality of blockchain nodes that are not assigned as non-human intelligent nodes; assigning a trust value to each of the plurality of the blockchain nodes based on voting histories of each of the plurality of the blockchain nodes to determine an overall trust value of a blockchain. In response to the overall trust value of the blockchain being below a minimum threshold, selecting at least one node to be assigned as the non-human intelligent node for increasing the overall trust value of the blockchain.
Apple Pursues a Patent on a Method for Sharing Purchased Content Items
U.S. patent application, US20210319418, discloses a method for sharing purchased content items amongst members of a group of linked user accounts. The method includes alerting the user before purchasing the requested content, upon a member of the linked group having the access to the requesting content item and enabling the purchasing user to download content assigned to members of linked group user accounts using a digital rights management (DRM) key. The figure shows the content items assigned to the user and the other members of the group of linked user accounts that are accessible to the user in a display.
Intel Seeks to Patent a Method for Robot Sensor Data Management
U.S. patent application, US20210321044, discloses a method for robot sensor data management. The method includes performing an environmental perception operation by a processor in a robot according to a first operational mode using a first sensor data comprising no camera data, or a second operational mode using a second sensor data comprising camera data. The selection of the second operational mode is based on a confidence factor representing the confidence of the environmental perception operation lying outside a range. The figure illustrates the procedure of robot sensor data management.
Microsoft Seeks to Patent a Method for Content Recognition While Screen Sharing in a Communication Session
U.S. patent application, US20210320953, discloses a method for performing image analysis on pixel data of a media stream associated with a communication session. The method enables identifying features of content items that are shared by a participant of the communication session and files associated with the shared content item based on the detected features for effectively providing access to the participants to the file associated with the shared content item. The figures below illustrate the user interfaces displayed on a participant’s device while providing access to the shared content items in the communication session.










