Ford discloses a method for providing trip-based intelligent media controls for in-vehicle entertainment systems.

In this week’s featured patent applications, we cover the latest from Ford, Boston Scientific, Abbott, Medtronic, Roche, Merck, Mastercard, Apple, Microsoft, Intel, and IBM.
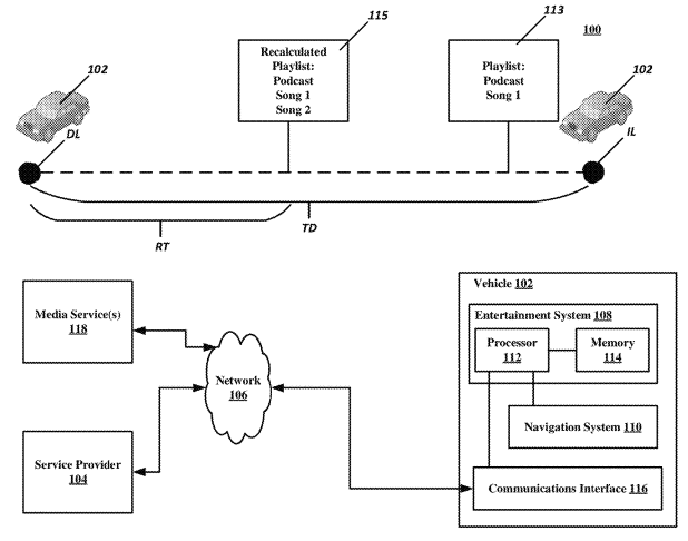
Ford Files a Patent for a Method for Trip-Based Media Controls
U.S. patent application, US20210096809, discloses a method for determining a remaining trip time for a vehicle, selecting media for a user of the vehicle based on the remaining trip time, the media having a playback time that is approximately equal to the remaining trip time, and providing the media to the user. The figure below shows an illustrative architecture for trip-based media controls entertainment delivery.
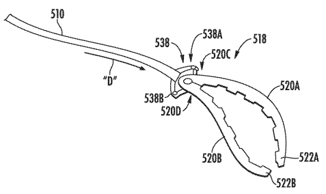
Boston Scientific Seeks to Patent a Tissue Closure System with an Endoscope
U.S. patent application, US20210093163, discloses a system for closing tissue, such as a tissue defect or wound resulting from an endoscopic procedure. The system includes an endoscope and a tissue engaging portion at the distal end having a tissue acquisition assembly and a tissue closure assembly independently actuatable by separate control elements. The figure below shows the tissue engaging portion of the system.
Abbott Aims to Patent Systems for Meal Information Collection, Meal Assessment, and Analyte Data Correlation
U.S. patent application, US20210093251, discloses systems for detecting, measuring, and classifying meals for an individual exhibiting or diagnosed with a diabetic condition. The system includes software applications that present organized and categorized results for providing direct and timely feedback on meal-related glycemic responses. The figures below illustrate graphical user interface display screens for logging meals and associated meal information.
Medtronic Files a Patent for a Supra Aortic Access Trifurcated Modular Stent Assembly
U.S. patent application, US20210093438, discloses a trifurcated modular stent device having a main body, a bypass gate, a primary artery leg, and a distal artery leg for the treatment of intravascular diseases. The stent is delivered via supra-aortic access such that the primary artery leg is deployed within the brachiocephalic artery providing immediate perfusion thereof. The figures below depict the trifurcated modular stent device and its cross-sectional view after deployment.

Roche Files a Patent for an In-Vitro Diagnostics System
U.S. patent application, US20210096146, relates to an in-vitro diagnostics system arrangement. The system includes an automation track, a sample carrier system, a data carrier reader, a relocation device to relocate the sample, a controller, and a control station comprising a camera to detect sample images. The figure below shows the in-vitro diagnostics system arrangement.
Merck Files a Patent for Antidiabetic Bicyclic Compounds
U.S. patent application, US20210094938, relates to novel compounds which are agonists of G-protein coupled receptor 40 (GPR40), and useful in the treatment, prevention, and suppression of diseases mediated by the G-protein-coupled receptor 40. The compounds of the present invention are useful in the treatment of Type 2 diabetes mellitus, obesity and lipid disorders, hyperlipidemia, hypercholesterolemia, and hypertriglyceridemia. The structure of the compound is shown below:
Mastercard Files a Patent for a Device-Based Transaction Authorization Method
U.S. patent application, US20210097523, discloses a method for authorizing a device-based transaction that includes receiving a transaction request message, comparing the transaction attributes with a permitted transaction rule, approving the proposed transaction if the transaction attributes satisfy the permitted transaction rule, generating a transaction cryptogram, and transmitting the transaction cryptogram to the merchant for use in completing the payment transaction.
Mastercard is blazing a trail in the future of B2B payments with its latest patent for faster virtual card transactions. Stay ahead of the curve and find out more!
Apple Aims to Patent a Method for Context-Based Disabling of Wireless Radios
U.S. patent application, US20210099839, discloses a method for disabling wireless radios while on an airplane that includes using a classifier to determine if an electronic device is on an airplane and disabling one or more wireless radios on the device based on the determination that the electronic device is on an airplane. The figure below shows the user interfaces related to the context-based disabling of wireless radios while on an airplane.
Microsoft Seeks to Patent a Method for Automatically Determining and Presenting Personalized Action Items from an Event
U.S. patent application, US20210097502, describes a method for determining action items of an event that includes determining personalized action items from the event speaker’s language style, historical patterns, event purpose, location, or other contextual information, and evaluating whether the statement is an action item or not. The figure below represents an example meeting event wherein personalized action items are automatically determined for the meeting participants.
Intel Aims to Patent a Method for Verifying Road Traffic Signs
U.S. patent application, US20210097313, discloses a method for verifying road traffic signs that includes obtaining an image of a traffic sign, analyzing the image to determine a traffic sign information, and verifying the validity of the traffic sign information. The figure below illustrates the traffic sign verification system.
IBM Eyes a Patent for a Smartphone-Based Reminding System for Forgotten Objects
U.S. patent application, US20210097843, discloses a system for reminding a user about forgotten objects, using a smartphone that includes the smartphone posting an alert to a user and reminding the user to return a forgotten access device when the user is outside of a secured area. The figures below illustrate the geographical points defining the secured area perimeter and the alert process performed by the smartphone.
TWIP stands for “This Week in Patents”, which is our weekly newsletter that covers the latest publications and their impact on businesses.
IBM has created an innovative new solution for currency conversion within media content. Learn more to discover details about this cutting-edge technology.













