Search
Close this search box.

Honda Develops Attention-Calling Device

LinkedIn
X
Email

Honda pursues a patent on an attention-calling device. This week’s newest patent applications from Honda, Boston Scientific, Abbott, Medtronic, Merck, Roche, PayPal, Intel, Apple, Microsoft, and IBM.

35th week  patent applications

Honda Pursues a Patent on an Attention-Calling Device

U.S. patent application, US20210269052, discloses an attention-calling device from Honda. The device comprises a processor configured to execute a target object position recognizing process that recognizes a position of a target object in front of a vehicle, and a display control process that controls image display on a display device provided in the vehicle. The device performs the attention calling process to cause the display device to display a virtual image corresponding to the target object such that the virtual image is visually recognized by a driver of the vehicle as overlapping the target object based on the position of the target object. The figure below illustrates the attention calling display on a head-up display (HUD).

Honda Pursues a Patent on an Attention-Calling Device

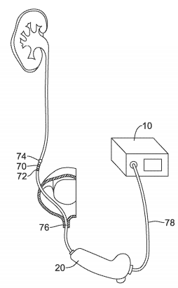
Boston Scientific Files a Patent for an Adaptive Pressure Control Filter for a Fluid Management System

U.S. patent application, US20210268182, discloses a system for controlling parameters of a fluid management system. The system acquires data signals from a sensor of the fluid management system, generates a profile with the data signal, filters the profile using an adaptive data filter, and controls a variable of the system using the filtered profile. The figure below illustrates the in-situ medical system.

medical system

Abbott Files a Patent for Individualized Calibration and Manufacturing of Medical Devices

U.S. patent application, US20210267500, discloses a calibration system for in-vivo analyte sensors to improve their performance. The system determines and utilizes calibration information for an individual sensor, the reference calibration information obtained during manufacturing of the sensor, and the calibration information by reference for in-vitro testing of the sensor. The figure below illustrates the analyte sensor penetrating through the skin.

calibration system

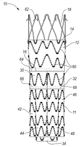
Medtronic Seeks to Patent a Trifurcated Stent Graft

U.S. patent application, US20210267748, discloses a stent-graft device with trifurcation to treat thoracoabdominal aortic aneurysms. The graft includes a main body that is trifurcated into three branch lumens at a common point or plane in the device and these lumens further bifurcate to perfuse the branch vessels of the aorta. The figures below depict the front and top views of the trifurcated stent graft.

stent-graft device Trifurcated Stent Graft

Merck Pursues a Patent on a Semiconducting Light-Emitting Nanoparticles Composition

U.S. patent application, US20210269657, discloses a composition including a semiconducting light-emitting nanoparticle, a macromolecular compound with an anchoring group, and an organic additive. The composition is used as a color converter material in LEDs and displays.

Roche Wants to Patent a Method for Seeding Cells

U.S. patent application, US20210270828, discloses a method for attaching cells on a biosensor surface. The method involves providing a cell suspension, contacting the biosensor surface with the surface of the cell suspension, and then allowing the cells to settle on the biosensor by gravity.

PayPal Seeks to Patent a Method for Mobile Emulator Determination Using Sound Detection

U.S. patent application, US20210272582, discloses a method for determining a mobile emulator using a sound fingerprinting technique for combating fraudulent transactions. The method includes transmitting a request for verification to a computing device purporting to be a mobile device in response to a received transaction request, receiving the verification that includes a tone generated by the computing device and detected by a microphone, and verifying, based on the received tone, whether the computing device is the mobile device for initiating or declining the transaction.

Intel Aims to Patent a Hearing Protection and Communication Apparatus Using Vibration Sensors

U.S. patent application, US20210267803, discloses a hearing protection and communication apparatus in high noise environments. The apparatus includes safety glasses having a vibration sensor to capture speech from a user and hearing protectors communicatively coupled to the safety glasses. The hearing protectors reduce the volume of an ambient sound and playback the captured speech. The figure below shows the hearing protection and communication apparatus.

safety glasses with vibration sensor

Apple Seeks to Patent a Multi-Cavity Pressure Sensor

U.S. patent application, US20210270687, discloses a multi-cavity pressure sensor. The sensor includes multiple cavities arranged adjacent to one another, membranes sealing respective cavities, and a sensor for sensing a deflection of a membrane associated with a cavity in response to applied pressure. The cavities operate under different pressures. The figure below illustrates the working of a single cavity pressure sensor and the multi-cavity pressure sensor.

Multi-Cavity Pressure Sensor

Microsoft Seeks to Patent an Automated Speech Recognition Confidence Classifier

U.S. patent application, US20210272557, describes an automated speech recognition confidence classifier. The classifier receives a set of baseline confidence features from one or more decoded words and derives word embedding confidence features from the received set. The classifier creates a feature vector to generate a confidence score based on the baseline and embedding confidence features. The figure below illustrates a graph representing the dependency of words with associated scores.

Automated Speech Recognition Confidence Classifier

IBM Seeks to Patent a Method for Dynamically Aligning a Digital Display

U.S. patent application, US20210271293, discloses a method for dynamically aligning a computing device’s display area with a user’s visual focus. The method includes determining that the display area is not aligned with the user’s visual focus based on a voice command from the user and activating a robotic assembly to align the display area with the user’s visual focus. The figure below illustrates dynamically aligning the computing device’s display area with the user’s visual focus.

Method for Dynamically Aligning a Digital Display

LinkedIn
X
Email

Have any content requests?

You can let us know at [email protected]

Recent Blog Posts

Subscribe to Our Weekly Newsletter

Join over 30,000 of your Peers! Sign-up for latest IP insights.

Subscribe to Our Weekly Newsletter

Join over 30,000 of your Peers! Sign-up for exclusive content and get the latest IP insights delivered directly to your inbox.

Skip to content