Fujifilm eyes a patent for a variable magnification optical system.
In this week’s featured patent applications, we cover the latest from Fujifilm, Boston Scientific, Medtronic, Abbott, Novartis, Roche, Paypal, Apple, Intel, IBM, and Microsoft.
Fujifilm Wants to Patent a Variable Magnification Optical System and an Imaging Apparatus
U.S. patent application, US20210141198, discloses a variable magnification optical system comprising a first lens group, a second lens group, and a subsequent lens group, wherein chromatic aberration is corrected in a visible wavelength range to a short wave infra-red (SWIR) range while an increase in the size of a lens system is suppressed. The figure below shows a cross-sectional view of a configuration of a variable magnification optical system.
Boston Scientific Files a Patent for a Laser System that Produces Tailored Laser Pulses for Surgical Applications
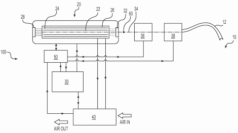
U.S. patent application, US20210137596, discloses a laser system that determines a suitable pattern of electrical pulses based on a user-desired laser pulse profile, directs the electrical pulses to an optical pump, and outputs a quasi-continuous laser pulse in response to the optical pumping. The figure below illustrates the laser system.
Medtronic Seeks to Patent a Medical Device for Tachyarrhythmia Detection
U.S. patent application, US20210138243, discloses a device for detecting tachyarrhythmia, also called tachycardia, where the heart rate exceeds the normal resting rate. The device increases tachyarrhythmia interval counting in response to time intervals between consecutive cardiac events and decreases the counting in response to a threshold number of detected normal sinus rhythm events. The figure below shows the medical device implanted in a patient.
Abbott Aims to Patent a Method for Automated Laboratory Inventory Management Using RFID Technology
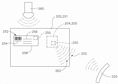
U.S. patent application, US20210142261, discloses a method for automated laboratory inventory management by physically affixing a radio-frequency identification (RFID) tag to a laboratory item, automatically scanning and transmitting information obtained from the RFID tag to a local computer, and generating a purchase order for the item. The figure below depicts a tagged shipping carton having the laboratory item.
Novartis Eyes a Patent for a Method of Treating Cancer Using a CD33 Chimeric Antigen Receptor
U.S. patent application, US20210139595, discloses a method for treating cancer through the parenteral administration of recombinant T-cells expressing CD33-specific chimeric antigen receptor in combination with a chemotherapeutic agent.
Roche Seeks to Patent an Analyte-Detecting Implantable Sensor Element
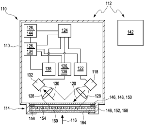
U.S. patent application, US20210137430, relates to an implantable sensor element for analyte detection. The system includes a chamber plate with a biocompatible polymer membrane, a quantum cascade laser illumination source, an optical detector for generating a sensor signal, and a controller for evaluating the sensor signal. The figure below shows the implantable sensor element.
Paypal Files a Patent on a Method for Providing Animated 2-Dimensional Barcode Checks
U.S. patent application, US20210142296, discloses a method for providing an animated 2D barcode check to securely transmit financial information (i.e. a check) between mobile devices. The method includes a payer’s mobile device encoding the check into a sequence of 2d barcodes, displaying the sequence of 2D barcodes in a loop that is scanned by a camera on
a merchant’s mobile device, and using a cryptographic signature to verify the validity of the signature in the check by the merchant.
Apple Eyes a Patent for an Earbud with Ultrasonic Proximity Sensors
U.S. patent application, US20210144481, discloses an ultrasonic proximity sensor in an audio accessory device that emits an ultrasonic signal and detects a reflected signal from the local environment to automatically determine if the audio accessory is properly positioned to provide a desired level of performance. The figure shows the media device and an associated audio accessory.
Intel Seeks a Patent for a Camera Tilting Mechanism for Displays with Corner Chamfers
U.S. patent application, US20210144310, discloses a display device with one or more image capturing devices disposed in its corners to capture one or more views of a subject and combine the captured image data into a composite view using optical tilting. The figure below shows the placement of image capturing devices on the display device.
IBM Files a Patent Application Relating to Detecting Scenes in an Instructional Video
U.S. patent application, US20210142188, discloses a machine learning model for detecting scenes in an instructional video that includes analyzing the visual and/or audio content of the instructional video to identify a behavioral pattern of an instructor in the visual and/or audio content of the instructional video and dividing the instructional video into scenes/shorter video segments, whereby each video segment relates to a different section or step of the instructed method in the instruction video. The figures below illustrate an example of the instructional video that is used for scene detection.
Microsoft Seeks a Patent for a Voice-Based Knowledge Sharing Application for Chatbots
U.S. patent application, US20210141818, describes a method for providing voice messages through intelligent automated chatting and includes selecting a voice message from a plurality of voice messages in response to an input wherein the length of each of the plurality of voice messages is not more than a predefined length and outputting the voice message in a conversation of the intelligent automated chatting. The figure below represents a user interface with a conversational chatting flow.
Microsoft is working on a project that will automatically generate metadata classification for videos to make them easier to find and classify.













