Search
Close this search box.

Apple Develops Automatic Video Content Cropping

LinkedIn
X
Email

This week’s newest patent applications are from Nvidia, Roche, Abbott, Boston Scientific, Merck, Medtronic, Paypal, Microsoft, Intel, IBM, and Apple. Dive into Apple’s cutting-edge technology and explore their patents for Automatic Video Content Cropping.

6th Week 2022 newest patent applications

Nvidia Eyes a Patent for a Game Event Detector

U.S. patent application, US20220040570, discloses a game-agnostic event detector that is used to automatically identify game events. A game-specific configuration data is used to specify types of pre-processing to be performed on media for a game session, as well as types of detectors to be used to detect events for the game. Event data for the detected events are written to an event log. The event data is used to generate highlight videos or provide player performance feedback thus enabling players to attempt to be the first to complete tasks for the current level or session. The figure below illustrates the display of gaming content that is analyzed.

Nvidia Eyes a Patent for a Game Event Detector

Roche Aims to Patent Automated Generation of Structured Patient Data Records

U.S. patent application, US20220044812, discloses a method for the automated extraction of information into a structured patient data record. The method involves processing the received patient data using a learning system with an artificial intelligence (AI)-assisted clinical extraction tool and then populating fields of a data record of the patient based on the predetermined data representations.

Abbott Pursues a Patent on Assays for Detecting SARS-CoV-2

U.S. patent application, US20220043003, discloses a lateral flow device for the detection of SARS-CoV-2 antigens in a sample from a subject. The device includes a pair of antibodies, or antigen-binding fragments that specifically bind to different epitopes of a nucleocapsid protein of the SARS-CoV-2 virus, and a detectable label.

Boston Scientific Files a Patent for Electrical Stimulation Systems Based on Stimulation-Evoked Responses

U.S. patent application, US20220040486, discloses systems for implanting stimulation leads in a patient’s brain. The system uses sensed evoked resonant neural activity (ERNA) in neural regions of the brain to guide the implantation and positioning of the stimulation lead(s) that include a plurality of electrodes. The figure below illustrates the system for using ERNA for surgical support during electrode lead implantation.

Boston Scientific Files a Patent for Electrical Stimulation Systems Based on Stimulation-Evoked Responses

Merck Wants a Patent for Electroluminescent Devices

U.S. patent application, US20220045277, discloses organic electroluminescent devices and compositions having different organic functional materials. The fluorescent electronic device includes a sensitizer and a fluorescent emitter, in which the sensitizer is a phosphorescent compound, and the fluorescent emitter is a sterically shielded compound.

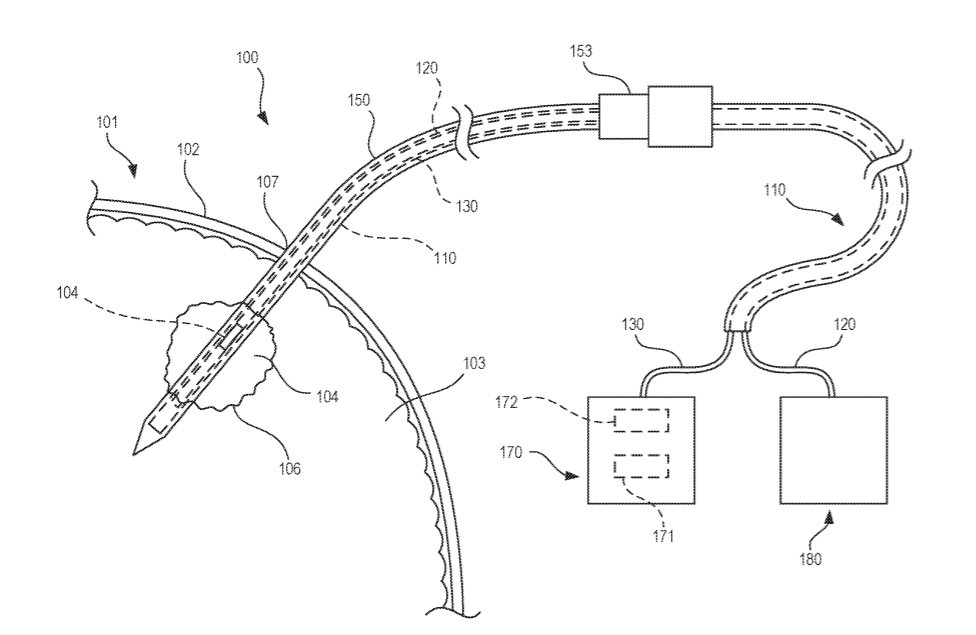
Medtronic Seeks to Patent a System for Tumor Ablation Planning Using Interstitial Optical Mapping

U.S. patent application, US20220039744, discloses a tumor mapping system to treat a patient’s tissue. The system includes a catheter with an imaging optical fiber to interstitially image a fluorescent dye associated with a tumor, and a processor to calculate the fluorescent dye’s location to create an optical map representing the tumor that is used for interstitial laser ablation plan generation. The figure below illustrates the interstitial optical mapping system disposed within the patient’s tumor.

Medtronic Seeks to Patent a System for Tumor Ablation Planning Using Interstitial Optical Mapping

Paypal Aims to Patent a Quick Pay Button

U.S. patent application, US20220044246, discloses a quick pay button that allows a user to remain on the same window or page from which an item was selected for purchase. When the user is ready to purchase, the user selects the button and simply enters an identifier, such as a password or PIN, to start the process of the transaction. The button remains on the same screen and changes during different stages of the payment process.

Microsoft Pursues a Patent on a Cryptography Method Using Varying-Sized Symbol Sets

U.S. patent application, US20220045843, describes a method for using varying-sized symbol sets in symmetric cryptography to protect against a brute force or other similar types of attack. The method includes encrypting/decrypting different portions of the data using different symbol sets having different numbers of unique symbols to add additional complexity to the encryption process to increase the difficulty in decrypting the encrypted data with the brute force attack. The figure below illustrates using varying-sized symbol sets with stream cipher.

Microsoft Pursues a Patent on a Cryptography Method Using Varying-Sized Symbol Sets

Microsoft is introducing a new and innovative way to measure body temperature with thermal imaging technology! Discover how this cutting-edge solution could benefit organizations.

Intel Aims to Patent a Method for Processing High-Speed Video from Camera Arrays

U.S. patent application, US20220046183, discloses a method for processing high-speed video from a plurality of cameras. The method includes a first camera capturing first images of the plurality of images, a second camera capturing second images of the plurality of images at a different time offset than the first camera, and generating a video with an adaptive frame rate from the plurality of images by applying a mask to the plurality of images. The figure below illustrates the image capture using a camera array.

Intel Aims to Patent a Method for Processing High-Speed Video from Camera Arrays

IBM Seeks to Patent Smart Contact Lens Based Shopping

U.S. patent application, US20220044302, describes a method for using a smart contact lens in a shopping environment. The method includes receiving the gaze data associated with a customer looking at a locked product on a store shelf from the smart contact lenses, sending a request to unlock the product to a program in the store server, and receiving a bill for the unlocked product from the program in the store server. The figure below illustrates the smart contact lenses and the customer wearing the smart contact lenses in the shopping environment.

IBM Seeks to Patent Smart Contact Lens Based Shopping

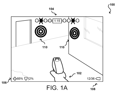
Apple Pursues a Patent on a Method for Automatic Cropping of Video Content

U.S. patent application, US20220044354, discloses a method for automatic cropping of video content in a video call. The method includes an electronic device displaying a first portion of video content, wherein the first portion of the video content includes a first subject having a first range of movement, detecting via a camera, the second range of movement of the first subject and displaying the first portion of the video content if the second range of movement satisfies certain criteria, otherwise displaying a second portion of the video content in the display. The figure below shows the cropping of the video content.

Apple Pursues a Patent on a Method for Automatic Cropping of Video Content

Stay informed and up-to-date on the ever-changing video conference industry with our blog filled to the brim with useful tips, insights, technology updates, and more! Stay ahead of your competition by staying in tune with this fast-paced world.

LinkedIn
X
Email

Have any content requests?

You can let us know at [email protected]

Recent Blog Posts

Subscribe to Our Weekly Newsletter

Join over 30,000 of your Peers! Sign-up for latest IP insights.

Subscribe to Our Weekly Newsletter

Join over 30,000 of your Peers! Sign-up for exclusive content and get the latest IP insights delivered directly to your inbox.

Skip to content