Yaskawa pursues a patent on a state estimation system for a robot. This week’s newest patent applications from Yaskawa, Boston Scientific, Roche, Abbott, Medtronic, Merck, PayPal, Apple, IBM, Intel, and Microsoft.

Yaskawa Pursues a Patent on a State Estimation System for a Robot
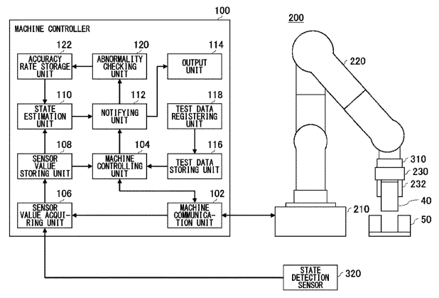
U.S. patent application, US20210247753, discloses a robot state estimation system that includes a state estimation device, a robot, and a sensor. The state estimation device comprises a machine controlling unit for controlling the robot based on a sensor value and a state estimation unit for estimating a state of the sensor based on the sensor value. The figure below depicts the state estimation system.
Boston Scientific Files a Patent for Pyrolic Occlusion Devices
U.S. patent application, US20210244523, discloses a device for occluding the pylorus during endoscopic procedures in the gastrointestinal system. The device includes flanges connected by a saddle region having a lumen and a closure element to occlude the flow of material through the lumen. The figure below illustrates a deployed pyloric occlusion device.
Roche Seeks a Patent on a System for Dispensing Highly Viscous Fluids
U.S. patent application, US20210245155, discloses a system for dispensing a small volume of liquid into a filling area of a sample microcarrier. The system includes a liquid pump connected to a reservoir, an interface unit for each flow channel of the sample microcarrier, a sample injector with an injection channel, a supply channel line connecting the pump to the interface unit, and a valve arranged between the pump and the interface unit. The figure below depicts the dispensing system.
Abbott Seeks to Patent a System for Presenting an Anatomical Simulant
U.S. patent application, US20210248923, discloses a system for simulating an anatomical access site. The system includes a model selectively disposed within a carrying structure to simulate anatomical tissue. The system may be used for teaching, demonstrating or device testing (e.g. medical procedures like a percutaneous coronary intervention (PCI)). The figure below illustrates the model assembly in use with a medical device and an image viewing device.
Medtronic Aims to Patent a System for Medical Device Breathability
U.S. patent application, US20210244358, discloses a medical device that includes a physiological characteristic sensor, a sensor base, and a coupling system that comprises a first and second adhesive member coupled to the sensor base and to the anatomy respectively. The first adhesive member has cut-outs to direct moisture to an environment surrounding the device. The figures below show exemplary first adhesive members with increased breathability.
Merck Eyes a Patent for a Filtration Assembly for Microbiological Testing
U.S. patent application, US20210245106, relates to a filtration assembly for microbiological testing. The filtration assembly comprises a ring-like membrane support holding a filtration membrane, a cylindrical reservoir of which opposite axial ends have openings, and one axial opening is removably and fluid-tightly attachable to the membrane support to define a sample volume adjacent to the filtration membrane. The assembly further includes a lid device attachable to the other axial opening of the reservoir to close the opening to seal the one axial side of the membrane support from the environment. The figure below depicts the filtration system.
PayPal Seeks to Patent a Method for Using Machine Learning to Predict Events Associated With Transactions
U.S. patent application, US20210248607, discloses a machine learning (ML) model predicting a likelihood of an occurrence of an event such as a dispute or a chargeback, associated with an electronic transaction based on monitoring a user’s interaction with a merchant’s website. An event analysis system performs one or more of the remedial actions based on the determined likelihood of the event associated with the transaction.
Apple Wants a Patent for Animating an Avatar Using Text
U.S. patent application, US20210248804, discloses a method for animating an avatar using text input received by an electronic device. The method includes receiving text input, determining an emotional state, generating, using a neural network, a speech data set representing the received text, and a set of parameters representing one or more movements of the avatar based on the received text and the determined emotional state. The figure below illustrates an avatar animated to wish “Happy Birthday”.
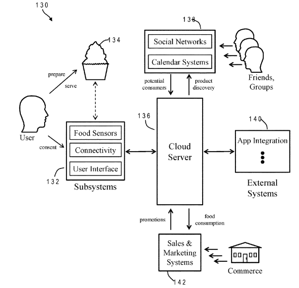
IBM Seeks to Patent a Method for Enhancing Product Discovery via a Connected Kitchen
U.S. patent application, US20210248637, discloses a method for enhancing product discovery by allowing a user in a connected kitchen to share their food consumption habits with friends and trusted companies. The method includes identifying a dish prepared by the user, generating a food product recommendation based on the dish prepared and sales offers, and sending a notification of the dish and sales offer to friends. The figure below illustrates a high-level architectural diagram to enhance product discovery.
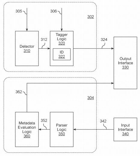
Intel Aims to Patent a Method to Identify a Source of Data Poisoning
U.S. patent application, US20210248026, describes a method for a processor to efficiently identify a circuit resource as being a source of data poisoning. The method includes communicating metadata in association with poisoned data to the processor and identifying a second circuit block included in or coupled to the processor as being a poisoner of the data. The figure below illustrates the communication of the data poisoning source.
Microsoft Wants a Patent for Directing Remote Player Interactions
U.S. patent application, US20210245044, describes a method for providing gameplay experiences to users by communicating with each of the game clients running a gaming application. The users of the gaming applications are identified and assigned to a team in a game instance. The method initiates an activity mode in the game instance and upon completion of the activity mode, the method initiates an objective mode by assigning an objective to the team. The figure below illustrates a gameplay session cycle.












