This week’s newest patent applications are from JUC Holdings, Boston Scientific, Roche, Abbott, Merck, Medtronic, Novartis, Abbott, Visa, Microsoft, Intel, Apple, and IBM. In this article learn more about the Visa automatic transaction authorization patents.
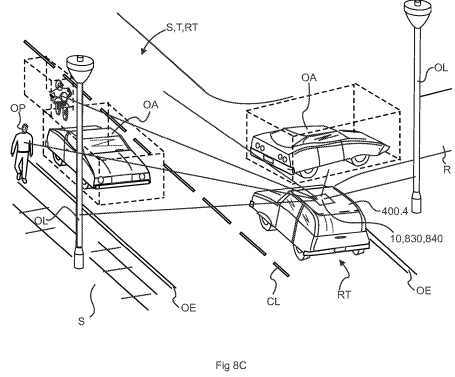
JUC Holdings Pursues a Patent on a Vehicle Terrain Capture System
U.S. patent application, US20210392314, discloses a vehicle terrain capture system to simulate a three-dimensional (3D) image of a terrain. The system comprises a vehicle to traverse the terrain having a geocoding detector to identify coordinate reference data; a capture module having a two-dimensional (2D) RGB digital camera to capture 2D digital images of the terrain; and a digital elevation capture device. The system identifies a key subject point in the 2D digital images and displays a multidimensional digital image/sequence. The figure below shows an automobile with a capture device(s) to capture a dataset of the terrain of the scene.
Boston Scientific Seeks to Patent a Gastrointestinal Bypass Device
U.S. patent application, US20210386572, discloses a gastrointestinal bypass device that includes an elongate tubular member, a port extending through a side surface of the elongate tubular member, and a bioabsorbable component. The bypass device ensures a minimally-invasive, endoscopic approach for reducing risks associated with post-surgical leaks. The figure below illustrates a side view of the bypass device.
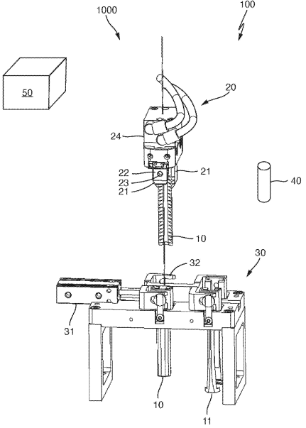
Roche Wants to Patent a Gripping System and a Laboratory Automation System
U.S. patent application, US20210387360, discloses a gripping system with gripping fingers of two types, and a gripping device for handling sampling containers. The gripping fingers of the first and second type are configured to grip a first and a second type of sample container which differ from each other in their geometrical properties. The figure below illustrates a laboratory automation system comprising a gripping system.
Merck Aims to Patent a Combination for Treating Cancer
U.S. patent application, US20210386826, discloses a method for cancer therapy by administering a combination of a PD-1/PD-L1 axis inhibitor, a CD-122-biased cytokine agonist, and an anti-androgen or a pharmaceutically acceptable salt to a subject. The PD-1 axis binding antagonist is effective to enhance T cell cytolytic activity. The figure below shows proxalutamide, an androgen receptor inhibitor.
Medtronic Aims to Patent a Line Scanner Imaging Device
U.S. patent application, US20210386388, discloses a line scanner imaging device for imaging an entire human spine. The device includes a wheeled base, a trolley having a base portion that is slidably connected to an elongate track and a rotatable upper portion, a C-shaped arm rotatably supported by the trolley, a source and a detector fixedly secured to the C-shaped arm. The figure below illustrates a line scanner.
Apple develops automatic video content cropping. With this new development, content creators can spend more time on creative tasks and leave the cropping to Apple.
Novartis Files a Patent for FXR Agonists
U.S. patent application, US20210386729, relates to the oral administration of FXR agonist, 2-[(1R,3r,5S)-3-({5-cyclopropyl-3-[2-(trifluoromethoxy)phenyl]-1,2-oxazol–4-yl}methoxy)-8-azabicyclo[3.2.1]octan-8-yl]-4-fluoro-1,3-benzothiazole-8–carboxylic acid or Compound (I) for the treatment and prevention of liver or an intestinal disease.
Abbott Seeks a Patent for an Analyte Monitoring Device
U.S. patent application, US20210386336, discloses an analyte monitoring system that includes a glucose sensor, a sensor control unit and a display unit. The sensor control unit further includes a skin housing, multiple conductive contacts and a transmitter. The analyte monitor is a part of a drug delivery system to alter the level of the analyte based on the data obtained using the sensor. The figure below illustrates the on-skin sensor control unit.
Visa Seeks to Patent a Method for Real-Time Automatic Authorization of a Payment Transaction
U.S. patent application, US20210390552, discloses a method for processing a payment transaction in real-time between a consumer and a merchant independent of an authorization input from a consumer using a payment transaction classification model. The method includes determining whether to process the payment transaction in real-time upon generating the payment transaction classification model based on the plurality of transactions, biometric data of the consumer taken within a predetermined time interval, and received location data from the consumer.
Microsoft Wants to Patent a Multi-Modal Response System
U.S. patent application, US20210390138, relates a multi-model response system for multi-modal chatting. The system provides a response to a user query in a multi-modal manner during an interaction between a chatbot and human beings, so that the expressing manner and the expressed content by the chatbot are richer. The figure below illustrates an interface of a conversation using the multi-modal response system.
Intel Aims to Patent an Augmented Reality and Virtual Reality Feedback Enhancement System
U.S. patent application, US20210390762, discloses a system for providing augmented reality and virtual reality (VR/AR) environment information. The system selectively suppresses and enhances VR/AR renderings of n-dimensional environments. The system deepens a user’s VR/AR experience by focusing on particular feedback information while suppressing other feedback information from the environment. The figure below illustrates an example of a VR/AR-enhanced user experience with sound sources located in a focus area and a non-focus area.
Apple Eyes a Patent for a Portable Electronic Device Performing Similar Operations for Different Gestures
U.S. patent application, US20210389871, discloses a portable electronic device with a touch-sensitive display. The device displays a first application in a first mode, performs a first operation upon detecting a first gesture on the touch-sensitive display, and performs the first operation upon detecting a second gesture on the touch-sensitive display, wherein the second gesture is different from the first gesture. The figure below illustrates the user interface for unlocking a portable electronic device.
IBM Files a Patent Application for a Method for Rendering Privacy-Aware Advertisements in a Mixed Reality Space
U.S. patent application, US20210390587, discloses a method for rendering privacy-aware advertisements for target users sharing a mixed reality space in a smart home. The method includes displaying the advertisement for the target user at a particular position during a particular time period while the remaining users are not viewing the particular position during the particular time period. The figure below illustrates building a joint embedding matrix across the plurality of users and the plurality of advertisements for rendering privacy-aware advertisements based on a social network graph between the plurality of users.













