This week’s newest patent applications are from Backbone Labs, Novartis, Abbott, Medtronic, Boston Scientific, Roche, Merck, Visa, Apple, IBM, Microsoft, and Intel. In this article, we shall learn how Visa verifies accounts using drones. This cutting-edge solution promises efficient, secure authentication for millions of consumers across the globe.

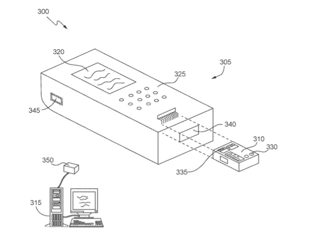
Backbone Labs Aims to Patent a Game Controller with an Audio Waveguide
U.S. patent application, US20220032180, discloses a game controller for a mobile device that includes a first handle, a bridge, and an acoustic waveguide. The first handle is configured to contact and support a mobile device and includes a user-accessible, first hardware interface on a main body portion of the first handle that is configured to accept touch inputs. The bridge extends from the main body portion of the first handle. The acoustic waveguide is configured to redirect sound emitted from the mobile device towards the front, top, and bottom sides of the game controller. The figure below illustrates an extended configuration of the game controller with the mobile device placed in it.

Novartis Seeks a Patent for a Pharmaceutical Combination of LSZ102 and Ribociclib
U.S. patent application, US20220031657, relates to the oral administration of a pharmaceutical combination containing LSZ102, (E)-3-(4-((2-(2-(1,1-difluoroethyl)-4-fluorophenyl)-6-hydroxybe- nzo[b]thiophen-3-yl)oxy)phenyl) acrylic acid and ribociclib, 7-cyclopentyl-N, N-dimethyl-2-((5-(piperazin-1-yl) pyridin-2-yl) a-mino)-7H-pyrrolo[2,3-d] pyrimidine-6- carboxamide for the treatment of estrogen receptor alpha (ER.alpha.) positive breast cancer.
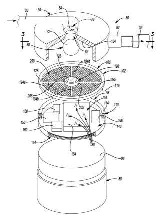
Abbott Wants a Patent for an Extended Range Immunoassay Device
U.S. patent application, US20220034874, relates to a point-of-care (POC) system with a self-contained disposable sensing device and a reader for use at a patient’s bedside. The device includes a housing with a microfabricated extended range sensor chip, a heterogeneous surface capture immunosensor, and a magnetic bead capture immunosensor for determining troponin I(TnI) or anti-cardiac troponin I(cTnI) analytes in a fluid sample. The figure below illustrates a handheld POC instrument.

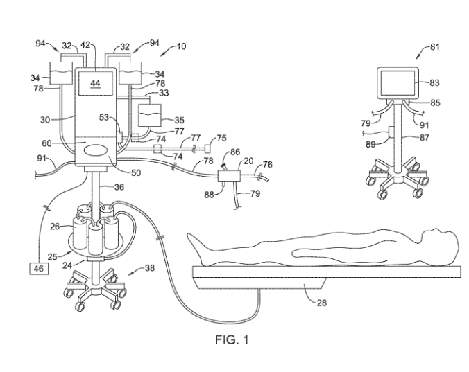
Medtronic Aims to Patent a System for Valve Control
U.S. patent application, US20220032018, discloses an implanted shunt system for hydrocephalus therapy caused due to overproduction, under absorption, or blockage of the outflow of cerebral spinal fluid (CSF) from a ventricle in a brain of a subject. The system includes an inlet and an outlet to direct the CSF, and a flow control assembly with a valve assembly that is controlled according to selected parameters. The figure below illustrates a shunt system positioned in a subject and the valve assembly.


Boston Scientific Files a Patent for a Fluid Management System with Integrated Laser Fiber Cooling
U.S. patent application, US20220031392, discloses a system for cooling a laser fiber with a fluid management system. The device comprises an elongate shaft, a handle, a laser device including a cooling channel and a laser fiber, a fluid management system including an inflow pump, a cooling pump, and a controller configured to control the inflow pump and the cooling pump. The figure below illustrates the fluid management system.

Roche Seeks to Patent a System for Meso-Dissection
U.S. patent application, US20220034765, discloses systems for improved meso-dissection of biological specimens and tissue slides. The system includes a processor to perform operations including importing one or more reference slides with annotations, using inter-marker registration algorithms to automatically map the annotations to an image of a milling slide, and dissecting the annotated tissue from the selected regions in the milling slide for analysis, while concurrently tracking the data and analysis using unique identifiers such as bar codes.
Merck Eyes a Patent for Expression Vectors for Eukaryotic Expression Systems
U.S. patent application, US20220033845, discloses an expression vector for expressing recombinant proteins (e.g. biologics or vaccines) in eukaryotic cells. The expression vector includes a first expression cassette having a promoter operably linked to an insertion site for a gene of interest (GOI), an internal ribosome entry site (IRES), a polynucleotide encoding a eukaryotic selectable marker, and a polyadenylation (polyA) signal, as well as a second expression cassette having a polynucleotide encoding a bacterial selectable marker and a bacterial plasmid origin of replication.
Visa Pursues a Patent on a Method for Account Verification by an Aerial Drone
U.S. patent application, US20220036044, discloses a method for verifying a new user account identity and user’s geolocation during online account generation by dispatching a drone to the user’s location and taking a photograph of the user via a drone’s camera. The method includes validating the previously-acquired account application data against the verification data captured by the drone and completing the secured account generation upon successful verification of the user’s identity and location.
Apple Wants to Patent a Method for Locating a Wireless Accessory Device
U.S. patent application, US20220038819, discloses a method for locating a wireless accessory device. The method includes initiating, by an electronic device, a sound at a specified frequency to be played by a loudspeaker of the accessory device, receiving the sound played, filtering the received sound, and locating the accessory device by associating the sound with the direction data generated from its inertial sensors. The figure below shows the electronic device displaying the location of the missing accessory.

IBM Aims to Patent a Collaboration of Three Dimensional Printing
U.S. patent application, US20220032548, describes a method for manipulating a 3D object for a computing device. The method includes tracking a user’s hand and finger movements using sensors worn by the user, modifying a holographic projection representing the 3D object using the user’s hand and finger movements, and updating the production of the 3D object. The figure below depicts modifying the holographic projection with the user’s hand movements.

Microsoft Files a Patent for Intelligent Captioning
U.S. patent application, US20220038778, describes a method for intelligent captioning. The method learns user habits for captioning based on user interactions with content, generates recommendations for turning the captioning on or off based on the information, and sends the recommendation to one or more content providers to switch the captioning on or off based on the recommendations. The figure below illustrates the timeline of dynamically updating the captions.

Microsoft is exploring new methods of security with a system designed to identify malicious links hidden in documents. This cutting-edge technology could revolutionize the way organisations safeguard their data and protect against cyber threats.
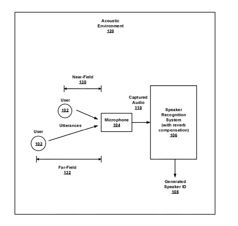
Intel Aims to Patent Reverberation Compensation for Far-Field Speaker Recognition
U.S. patent application, US20220036903, discloses a method for reverberation compensation for far-field speaker recognition. The method includes receiving an authentication audio signal associated with the speech of a user, extracting features from the signal, scoring, and mapping a selected speaker model to a known speaker identification, wherein the speaker model is trained based on training audio signal processed by a reverberation simulator simulating selected far-field environmental effects associated with the speaker model. The figure below illustrates a system for speaker recognition with reverberation compensation.



