PepsiCo develops a beverage-ingredient cartridge and a cap for the cartridge.
In this week’s featured patent applications, we cover the latest from PepsiCo, Boston Scientific, Roche, Novartis, Abbott, Medtronic, Merck, Paypal, Apple, IBM, Microsoft and Intel.
PepsiCo Pursues a Patent for a Beverage-Ingredient Cartridge and Cap
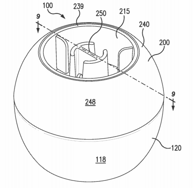
U.S. patent application, US20210047105, discloses a beverage-ingredient cartridge for storing and dispensing beverage ingredients. The cartridge includes a container for storing a beverage ingredient, and a cap secured within an open upper end of the container that seals the open upper end. The cap includes a storage compartment for storing another beverage ingredient. Upon application of a force the storage compartment and container are open to the outside of the beverage-ingredient cartridge. The goal is to provide a convenient way of mixing liquid and powdered ingredients. The illustration below depicts the beverage-ingredient cartridge.
Boston Scientific Files a Patent Application for Paresthesia-Free Spinal Cord Stimulation
U.S. patent application, US20210046314, describes a method for testing and treating spinal cord stimulation patients with paresthesia-free therapy. Paresthesia–sometimes referred to as “supra-perception” therapy–is a sensation such as tingling, prickling, heat, cold, etc. that can accompany SCS therapy. The method uses the supra-perception stimulation for “sweet spot searching” during which active electrodes are selected for the patient. “Sweet spot searching” refers to how electrodes are selected that are proximate to a neural site of pain in a patient. The figure below shows the “sweet spot searching” to determine the effective electrodes for the patient.
Novartis Aims to Patent Viral Vectors
U.S. patent application, US20210047656, relates to AAV viral vectors that are capable of delivering molecules encoding retinaldehyde binding protein 1 (RLBP1) gene sequence to the retina. The goal is to cure vision loss in patients with Retinitis pigmentosa.
Abbott Wants to Patent a Stabilized Fabric Material for Medical Devices
U.S. patent application, US20210045868, discloses a stabilized woven fabric or mesh that is resistant to conformation changes by tissue growth and a stabilized replacement heart valve that comprises the stabilized fabric components. The figure below illustrates a leaflet formed from the stabilized or non- stabilized uncoated woven fabric.
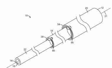
Medtronic Eyes a Patent for a Telescoping Catheter
U.S. patent application, US20210046284, discloses a telescoping delivery catheter including an elongated tubular member having a passageway extending between a proximal and a distal end, and two tubular segments that are connected with each other by mateable connectors and are slidable relatively to vary the tubular length. The figures below illustrate the telescoping catheter and its connectors.


Merck Eyes a Patent for Methods of Vapor Deposition of Ruthenium
The continual decrease in the size of microelectronic components has increased the need for improved thin film technologies. Unfortunately, with thinner films oxygen co-reactants undesirably react with underlying films. Merck recognized the need for a non-oxygen containing co-reactant process for thin film deposition. U.S. patent application, US20210047725, relates to methods of forming a ruthenium-containing film by atomic layer deposition and/or chemical vapor deposition, which comprises delivering a precursor and an oxygen-free co-reactant to a substrate to form the ruthenium-containing film.
Paypal Seeks to Patent an Application Platform with Flexible Permissioning
U.S. patent application, US20210051157, discloses an application platform with flexible permissioning. The application platform is configured to maintain a profile of an application developer, receive an API call from the developer, authenticate the developer and authorize the API call, assign an access level and control the permissions given to the developer to perform the operations available based on the assigned access level.
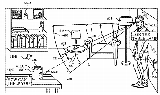
Apple Files a Patent for Controlling Electronic Devices Using Gaze Information
U.S. patent application, US20210048883, discloses a method for controlling an electronic device using a user’s gaze information. The method includes activating a digital assistant if the user’s gaze information satisfies activation criteria, receiving an audio request to perform a command and transmitting an instruction to an external device. The figure below depicts the method of controlling the electronic device using gaze information.
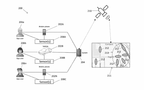
IBM Files a Patent Application for a Real-Time Route Determination System Based on Localized Information
U.S. patent application, US20210048303, discloses a real-time route determination system that is configured to determine a navigation route in real-time based on a user’s stress level data and display a navigation route option for the user to reduce the user’s stress level. The figures below illustrate a display unit that displays a graphical map with multiple navigation route options.
Microsoft Seeks to Patent a Smart Coach for Enhancing Personal Productivity
U.S. patent application, US20210049440, discloses a smart coach system for optimizing the ordering of tasks based on task related information retrieved from storage. The system generates the ordering of the tasks based on a user optimization goal, an efficiency goal, and a task priority level and displays the tasks as an agenda or in a calendar view. The figures below illustrate the user interface of the smart coach system.
Intel Pursues a Patent for Detecting the Proximity of Objects to Computing Devices Using Near Ultrasonic Sound Waves
U.S. patent application, US20210048901, relates to an apparatus for detecting the proximity of objects to computing devices using near ultrasonic sound waves. The apparatus includes a signal generator, an echo profile generator to process noise information sensed by the computing device, and an object detection analyzer to determine whether an object is within the activation region of the computing device. The illustration below depicts the detection of the proximity of the objects to the computing device.














