Mars develops a method for degrading aflatoxin B1 in peanut powder using ozone

In this week’s featured patent applications, we cover the latest from Mars, Boston Scientific, Merck, Abbott, Medtronic, Roche, Novartis, Mastercard, Intel, IBM, Microsoft and Apple.
Mars Pursues a Patent for a Method for Degrading Aflatoxin B1 in Peanut Powder Using Ozone
U.S. patent application, US20210037860, discloses a method for treating peanut powder to reduce the concentration of aflatoxin B1 in peanuts. The method includes grinding peanuts to produce peanut powder and exposing the peanut powder to an ozone-rich environment. The illustration below depicts an ozonolysis treatment process.

Boston Scientific Seeks to Patent a Pulmonary Biopsy Device
U.S. patent application, US20210038204, a device for navigating to a targeted biopsy region such as the lungs. The device includes an elongate shaft, an inflation lumen, a vacuum lumen, an inflatable balloon, and an ultrasound transducer with a power and control unit that are positioned at the shaft’s distal end. The figure below shows a method of using the ultrasound transducer by the biopsy device.
Merck Files a Patent for a Metformin Preparation Process
U.S. patent application, US20210040035, relates to an improved process for the preparation of metformin hydrochloride for treatment of Type II Diabetes, where the process is capable of avoiding the use of organic solvents, and does not require the addition of metformin HCl in equimolar amounts.
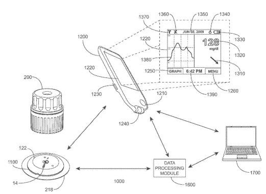
Abbott seeks to Patent Medical Device Inserters
U.S. patent application, US20210038137, discloses an insertion device for transcutaneous positioning of an in-vivo glucose sensor. The device includes a sheath defining a distal surface for placement on the skin of the subject, a movable handle, a sensor support, and two sharp supports. The figure below illustrates the glucose monitoring system for real time measurement, data acquisition and processing.
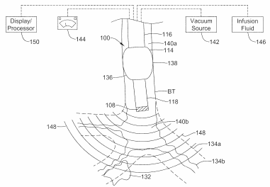
Medtronic Wants to Patent a Fluid Infusion Patch Pump with Automatic Startup
U.S. patent application, US20210038807, discloses a fluid infusion device that includes a housing with a fluid pump, removable fluid cartridges, a subcutaneous conduit, a drive motor, and a processor that initiates an automatic startup routine when the fluid cartridge module is initially installed in the housing. The figure below depicts the insertion of the removable fluid cartridge into the infusion device.
Roche Files a Patent for Multiple Epitope Detection
U.S. patent application, US20210040538, relates to a method of detecting and binding multiple mRNA targets to unique binding agents (UBA) nucleic acid molecules containing antisense DNA, thereby helping in the diagnosis of different biological states of an individual.
Novartis Pursues a Patent for CD32B Antibodies
U.S. patent application, US20210040205, discloses a method for treating cancer through the parenteral administration of anti-CD32B antibody molecules in combination with an immunomodulatory compound.
Mastercard Files a Patent for a Method for Implementing Authentication Waiver Based Electronic Payment Transactions
U.S. patent application, US20210042752, discloses a method for reducing user interventions necessary for the authentication of transactions. The method involves receiving an electronic payment transaction request, retrieving authentication waiver records associated with the transferor payment account, comparing transaction parameters, and when the transaction parameters match transmitting an instruction to an issuer server to transfer the transaction amount.
Intel Pursues a Patent for Tamper-Resistant Geo-Fence System for Drones
U.S. patent application, US20210042418, relates to a system for operating a drone. The system is configured to load a flight plan authorization if the drone’s firmware is determined as valid, identify a geofence defined by the flight plan authorization and navigate the drone according to the flight path authorization. The illustration below depicts the system for operating a drone.
IBM Seeks to Patent a Method for Time-Based Multiple Automobile Travel Coordination
U.S. patent application, US20210041252, discloses a method for time-based multiple automobile travel coordination. The method includes creating a travel coordination group for the participants and for each participant obtaining a current position and a destination location and determining an estimated travel time and a departure time such that the participants arrive at the destination location within a threshold amount of time from one another. The illustration below depicts a travel coordination system.
Microsoft Seeks a Patent for Chat Group Recommendations for Chat Applications
U.S. patent application, US20210044559, describes a method for recommending the list of groups of a chat application based on a monitored activity of a user communicating in a group. The higher ranked groups are displayed above the lower ranked groups. The figure below illustrates a ranked list of the chat groups based on the user activity.
Apple Files a Patent for a 3-Dimensional Document Editing System
U.S. patent application, US20210042010, discloses a system that includes a virtual reality device and an input device for three dimensional editing of a document. The system allows a user to make gestures while entering text to specify 3D effects in the document, monitors the entries, applies rules to detect particular types of entries, and automatically shifts the detected types of entries on the Z-axis relative to the rest of the content in the document. The figure below illustrates the system.









