L’Oréal invents a flexible heating device for hair shaping. Boston Scientific is innovating in the medical field, with a patent filing for an advanced fluid management system. This technology could revolutionize accuracy of procedures, bringing positive change to patient care and safety worldwide.
In this week’s featured patent applications, we cover the latest from L’oreal, Boston Scientific, Roche, Novartis, Medtronic, Merck, Visa, Microsoft, IBM, Apple, and Intel.
L’Oréal Files a Patent for a Flexible Heating Device
U.S. patent application, US20200405030, discloses a flexible hair shaping heating device in the form of a sheet. The device includes a flexible heating layer, a flexible heat conductive layer provided on a surface of the heating layer, and a flexible heat insulation layer provided on the other surface of the heating layer and the device is capable of forming a closed space around the hair. The illustration below depicts an example usage of the heating device.
Boston Scientific Seeks a Patent for a Fluid Management System
U.S. patent application, US20200405955, discloses a fluid management system that may be used in an endoscopic procedure. The system includes a pressure sensor and a camera configured to provide feedback for verifying the connectivity of a procedural device to the fluid management system and adjust a fluid flow rate. The figure below shows the fluid management system providing feedback.
Roche Pursues a Patent for CEA CD3 Antibody and PD-1 Axis Binding Molecule
U.S. patent application, US20200407450, discusses a method for treating cancer by administering a carcinoembryonic antigen (CEA) CD3 bispecific antibody in combination with a PD-1 axis binding antagonist drug.
Novartis Files a Patent Application for Indole-2-Carbonyl Compounds
U.S. patent application, US20200407365, discusses a method of treating Hepatitis B through the oral administration of indole-2-carbonyl compounds. The structure below represents the compound.
Medtronic Files Patent Applications for Wireless Tracking of a Medical Device Characteristics and for a Closed-Loop Glucose and Insulin Control System
U.S. patent application, US20200410176, discloses a wireless tracking system that determines the 3D position, location, and orientation of a removably insertable medical device in a recipient using wireless tags incorporated in the device. The figure below illustrates the positioning of the medical device within the recipient.
Another application, US20200405224, discloses a closed-loop infusion regulation system for monitoring glucose and insulin levels in a patient and generates an alarm based on the blood-glucose measurements to change the recommended therapy. The figure below shows the glucose sensor system.
Merck Files a Patent Application for Formulations to Increase Cellular Availability of Calcium in Skin Cells
U.S. patent application, US20200405674, relates to a formulation that can be applied topically on the epidermis of mammals to increase the cellular availability of calcium in the living epidermal cells. The formulation uses serine or threonine together with an amino acid or amino acid derivative, and a calcium salt or its hydrate.
Visa Pursues a Patent for a System and Method of Generating a Contact Alert
U.S. patent application, US20200410504, relates to a method of sending a contact alert message to a user. The method includes generating the contact alert message using transaction and alert preference data that may have the contact information of a person who conducted the transaction, and sending the alert message to the user. The illustration below depicts an alert system.
Microsoft Seeks a Patent for Using Eye Tracking to Hide Virtual Reality Scene Changes in Plain Sight
U.S. patent application, US20200409455, discloses a head-mounted display (HMD) that receives sensor data from eye-tracking sensors coupled to the HMD, determines focal regions that include a perifoveal region of a displayed virtual scene and modifies an outside portion of the focal region based on the perifoveal region. The figures below illustrate modifying the virtual environment dynamically by tracking the user’s eye movements.
IBM Files a Patent Application Relating to Personalized Content for Augmented Reality Based on Past User Experience
U.S. patent application, US20200409451, discloses a method for displaying personalized content on an augmented reality (AR) device worn by a user. The method includes analyzing the current task performed by the user, comparing the current task to a plurality of prior tasks performed by the user, and generating the personalized content relating to the current task based on the corresponding prior task.
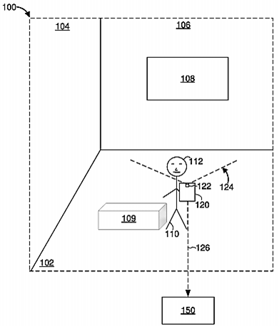
Apple Aims for a Patent for Generating a Pose Information of a Person in a Physical Environment
U.S. patent application, US20200410713, discusses a method for obtaining spatial data of a physical environment through an environment sensor, identifying a body portion of a person from the spatial data and generating a pose information of the person based on the position of body portion in relation to a fixed spatial point. The illustration below depicts an operating environment.
Intel Seeks a Patent for Collaborative Phone Reputation System
U.S. patent application, US20200412870, relates to a system for implementing a collaborative phone reputation. The system includes a call handling module to detect an incoming call, a scoring module to determine a probabilistic score based on the desirability of the incoming call to a user and an execution module to take action based on the probabilistic score determined.
Discover how Intel is revolutionizing the world of payment transactions with its innovative geo-fencing technology. Take advantage of secure, effortless payments no matter where you are in the world!











