Search
Close this search box.

Tesla Develops Seat Belt Detection System

LinkedIn
X
Email

Tesla pursues a patent on a seat belt detection system. This week’s newest patent applications are from Tesla, Boston Scientific, Merck, Roche, Novartis, Medtronic, Mastercard, IBM, Microsoft, Apple, and Intel.

40th week 2021 newest patent applications

Tesla Pursues a Patent on a Seat Belt Detection System

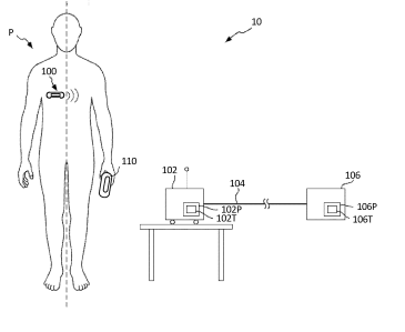
U.S. patent application, US20210309180, discloses a system for detecting improper usage of a seat belt of a Tesla vehicle. The system includes a shoulder belt and a lap belt, intended to restrain an occupant sitting on a Tesla’s seat, and a sensor module associated with them. The sensor module generates signals indicative of at least one parameter associated with the vehicle seat, the shoulder belt, and the lap belt when the occupant is sitting on the vehicle seat. The system also includes a controller that analyzes one or more indicative signals and determines whether the seatbelt is being used improperly by the occupant. The figure below represents a system to detect improper usage of a seatbelt by an occupant sitting on a vehicle seat.

Tesla Pursues a Patent on a Seat Belt Detection System

Boston Scientific Files a Patent for an Endoscope Biopsy Cap

U.S. patent application, US20210307594, discloses a biopsy cap for an access port of an endoscope. The cap includes a disk shutter section, a brush section, and a securing member for securing the biopsy cap to a port on the endoscopic instrument. The figure below shows the endoscope assembly illustrating the biopsy cap.

Boston Patent for an Endoscope Biopsy Cap

Merck Seeks a Patent for Tricyclic Heterocycle Compounds

U.S. patent application, US20210309671, relates to tricyclic heterocycle compounds and compositions, in combination with an effective amount of at least one therapeutic agent selected from a group consisting of HIV antiviral agents, immunomodulators, and anti-infective agents, used for treating or preventing HIV infection in a subject. The chemical structure below illustrates the tricyclic heterocycle compound:

Merck Patent for Tricyclic Heterocycle Compounds

Roche Eyes a Patent for a Skin-Mountable Medical Device

U.S. patent application, US20210308370, relates to a skin-mountable medical device. The device includes a mounting plate having a bottom side attachable to a user’s skin, a medical module, in particular, an analyte sensing device or a drug administration pump, a snap connector for releasably attaching the medical module on the upper side of the mounting plate, and a release flap that can be actuated by the user to detach the medical module. The figure below shows a perspective view of the body-wearable medical device.

Roche Patent for a Skin-Mountable Medical Device

Novartis Seeks a Patent for Methods of Preventing and Treating Heart Diseases

U.S. patent application, US20210309749, relates to a method for preventing and treating heart disease through the parenteral administration of a therapeutically effective amount of an ActRII receptor antagonist, e.g., an ActRII receptor binding molecule or antibody, such as a bimagrumab antibody.

Medtronic Wants to Patent a Branching Stent Graft with Mechanical Interlock and a Method for Non-Invasive Monitoring of Hemoglobin

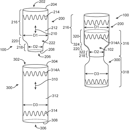
U.S. patent application, US20210307893, discloses a modular assembly for the treatment of a diseased aorta. The assembly includes two stent-grafts, where each has a proximal and distal portion with different diameters to form a mechanical interlock between them. The figure below illustrates the assembly with the second stent-graft interlocked with the first stent-graft.

Medtronic Patent a Branching Stent Graft

Another application, US20210307661, discloses a system for non-invasively monitoring hemoglobin concentration during patient diagnosis. The system includes providing incident light to the patient tissue at two excitation wavelengths, monitoring consecutive emission responses that correspond with a maximum and minimum wavelength, and calculating a hemoglobin concentration based on a ratio between the emission responses. The figures below depict the non-invasive patient monitoring system and an adherent monitoring device.

non-invasive patient monitoring system adherent monitoring device

Mastercard Seeks to Patent a Method for Facilitating an In-Transit Purchase of Products

U.S. patent application, US20210312386, discloses a method for recommending a product available for purchase and a pickup location for collecting the product based on a route being traversed by a user with the current location of the user’s vehicle. The method includes blocking a transaction amount associated with the product from a payment account that is linked to a radio frequency identifier (RFID) tag placed in the vehicle upon receiving a product order request and deducting the blocked amount when the product is collected.

IBM Seeks to Patent a Method for Retrieving Relevant Documents to Assist Agents in Real-Time Customer Care Conversations

U.S. patent application, US20210312900, discloses a method for retrieving the most relevant documents to assist an agent in a real-time conversation with a user. The method includes classifying phrases in a user utterance, extracting content phrases, and creating a contextually enhanced content-based query for the information retrieval system. The figure below is a representation of the evolution of the user utterance into the contextually enhanced content-based query.

Method for Retrieving Relevant Documents

Microsoft Seeks a Patent for Intent-Based Scheduling via a Digital Personal Assistant

U.S. patent application, US20210314422, describes a method for analyzing communications to identify the intent of users performing activities. The intent is used for scheduling a time to perform the activity. A digital personal assistant is programmatically configured to automatically propose or schedule a time to perform the activity. The figure below depicts an intent-based scheduling system.

Microsoft Patent for Intent-Based Scheduling via a Digital Personal Assistant

Apple Eyes a Patent for Postponing the State Change of Information Affecting the GUI until an Inattentiveness Condition is Identified

U.S. patent application, US20210311550, discloses a method for postponing the state change of information affecting a graphical user interface (GUI). The method includes displaying a first frame series version to a user, obtaining a second frame series version, and monitoring for a change in the eye status of the user. If the eye status of the user indicates a state of inattentiveness, displaying the second frame series version. The figure below illustrates a scenario of postponing the state change until detecting a user’s inattentiveness.

Apple Eyes a Patent for Postponing the State Change of Information Affecting the GUI until an Inattentiveness Condition is Identified

Intel Aims to Patent a Method for Pairing Devices Using Visual Recognition

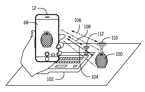
U.S. patent application, US20210311893, discusses the pairing of a host device with a peripheral device using visual recognition and deep learning techniques. The host device receives an indication of the peripheral device via a camera or a periodic scan. The host device determines a visual distance based on a received image and a signal distance based on received signal strength, and pairs with the peripheral device if the two distances are approximately equal. The figure below illustrates the host device pairing with a speaker.

Intel Patent Pairing Devices Using Visual Recognition

LinkedIn
X
Email

Have any content requests?

You can let us know at [email protected]

Recent Blog Posts

Subscribe to Our Weekly Newsletter

Join over 30,000 of your Peers! Sign-up for latest IP insights.

Subscribe to Our Weekly Newsletter

Join over 30,000 of your Peers! Sign-up for exclusive content and get the latest IP insights delivered directly to your inbox.

Skip to content