Search
Close this search box.

Roche Develops Patent for Modular Implantable Device

LinkedIn
X
Email

Roche seeks to patent a modular implantable device.

This week’s newest patent applications from Ajinomoto, Roche, Novartis, Merck, Boston Scientific, Abbott, Medtronic, PayPal, Apple, IBM, Intel, and Microsoft.

24th week 2021 patent application

Ajinomoto Eyes a Patent for an Intermittent Endurance Capacity Improving Agent

U.S. patent application, US20210177793, relates to an intermittent endurance capacity improving agent containing either or both aspartic acid and tyrosine. The present invention further discloses a blood pH increasing agent that can suppress a decrease in blood pH due to high-intensity exercise. The figure below shows an improved intermittent endurance capacity of mice that ingested the intermittent endurance capacity improving agent.

Ajinomoto Eyes a Patent for an Intermittent Endurance Capacity Improving Agent

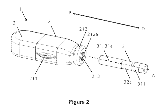
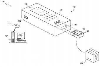
Roche Seeks to Patent a Modular Implantable Device

U.S. patent application, US20210177314, relates to an implantable medical device containing an implantable power supply unit. The system includes a continuous glucose meter module, a hermetically sealed supply housing, a battery, and a power supply coupler to power the implantable medical device via a wireless coupling. The figure below shows the implantable medical device.

Roche Seeks to Patent a Modular Implantable Device

Novartis Eyes a Patent for Anti-CAR Compositions

U.S. patent application, US20210179709, discloses a method for treating diseases associated with the expression of a target chimeric antigen receptor (CAR) through the parenteral administration of vectors and recombinant T cells expressing anti-target CAR specific molecules.

Merck Wants to Patent Conjugate Based Systems for Controlled Insulin Delivery

U.S. patent application, US20210177981, relates to conjugates comprising an insulin molecule conjugated via a conjugate framework to several separate ligands that include a saccharide. This includes a conjugate being administered to a mammal, where one pharmacokinetic and pharmacodynamic property of the conjugate is sensitive to the serum concentration of other saccharides.

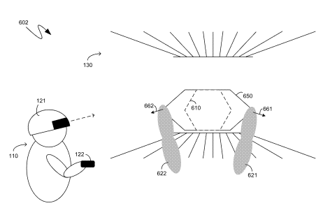
Boston Scientific Files a Patent for a Pain Management System with Sleep Detection

U.S. patent application, US20210178164, discloses a pain management system that includes a sleep monitoring circuit to determine a patient’s sleep state, a pain monitoring circuit to receive one or more pain signals, and a pain relief device to deliver pain relief therapies based on the determined sleep state. The figure below shows the pain management system.

Boston Scientific Files a Patent for a Pain Management System with Sleep Detection

Abbott Aims to Patent a Management System for Point of Care Testing

U.S. patent application, US20210182764, discloses a quality compliance system for biological sample testing systems used in hospitals. The system includes a computing device that assesses and determines an operator’s competency level to operate the sample testing instrument based on multiple attributes and operator-derived data. The figure below depicts a disposable sensing device and a reader device.

Abbott Aims to Patent a Management System for Point of Care Testing

Medtronic Files a Patent for a Heart Valve Prosthesis with a Torque Anchoring Mechanism

U.S. patent application, US20210177592, discloses a heart valve prosthesis delivery device that includes a balloon having a shaped surface to engage with the corresponding valve prosthesis. The balloon is rotated about a central longitudinal axis of the delivery device to rotate the heart valve prosthesis and embed the torque anchoring mechanism into a tissue at the desired implantation site. The figures below illustrate a method of delivering the valve prosthesis.

Medtronic Files a Patent for a Heart Valve Prosthesis with a Torque Anchoring Mechanism

PayPal Seeks to Patent a Method for Secure Cardless Cash Withdrawal

U.S. patent application, US20210182815, discloses a method for secure cardless cash withdrawal at an automated teller machine (ATM). The method includes detecting the presence of a user device at the ATM using sensors, prompting the user to enter a one-time authorization code provided to the user device upon receiving a cash request from the user device and distributing funds associated with the cash request in response to successfully receiving the authorization code from the user.

Apple Wants to Patent an Air Deflector for a Cooling System in a Head-Mounted Device

U.S. patent application, US20210185855, discloses an air deflector for a head-mounted device. The head-mounted device comprises a housing with an inlet port, an outlet port, a display assembly, and an air circulation device. An air deflector mounted on the surface of the display assembly reduces the turbulence created by the flow of air through the airflow path. The figure below illustrates a user wearing the head-mounted device with the air deflector.

Apple Wants to Patent an Air Deflector for a Cooling System in a Head-Mounted Device

IBM Pursues a Patent on a Method for Identifying Confidential Information Based on the Recipient of Textual Communication

U.S. patent application, US20210182420, discloses a method for identifying confidential information based on the recipient of textual communication. The method includes receiving an indication of a new participant in a textual communication between two existing participants, determining whether the confidential topic identified connects the new participant with the existing participants, and alerting the existing participants if the confidential topic identified does not connect the new participant. The figure below illustrates an example system architecture for identifying confidential information.

Identifying Confidential Information

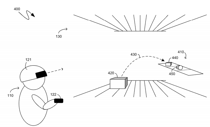
Intel Seeks to Patent Notebook Hinge Sensors

U.S. patent application, US20210181858, discloses notebook hinge sensors in a computing device comprising a hinge arranged to couple a housing and a lid. A sensor module is arranged inside the hinge and coupled to the processor circuit to capture motion input, such as user gestures, from outside of the computing device. The figure below illustrates the hinge sensors capturing the user gestures to move an object on the display.

Intel Patent Notebook Hinge Sensors

Microsoft Files a Patent for a Method of Enhancing Efficiency in Construction of Virtual Reality Environments

U.S. patent application, US20210183156, discloses methods of increasing efficiency during the construction of virtual reality environments with enhancements directed to the sizing of objects. The enhancements further include a simultaneous display of multiple thumbnails of the virtual reality environments, controlling the positioning of a view of the virtual reality environment, exchange of objects between multiple virtual reality environments being constructed, etc., The figures below illustrate the efficient enhancements directed to the construction of the virtual reality environments.

simultaneous display of multiple thumbnails of the virtual reality environments controlling the positioning of a view of the virtual reality environment

exchange of objects between multiple virtual reality environments being constructed  virtual reality environments

LinkedIn
X
Email

Have any content requests?

You can let us know at [email protected]

Recent Blog Posts

Subscribe to Our Weekly Newsletter

Join over 30,000 of your Peers! Sign-up for latest IP insights.

Subscribe to Our Weekly Newsletter

Join over 30,000 of your Peers! Sign-up for exclusive content and get the latest IP insights delivered directly to your inbox.

Skip to content