Pepsico wants to patent a device for nucleation of a supercooled beverage.
This week’s featured patent applications cover the latest from PepsiCo, Roche, Abbott, Medtronic, Merck, Boston Scientific, PayPal, Intel, Apple, IBM, and Microsoft.
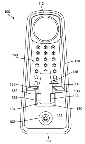
PepsiCo Pursues a Patent on a Beverage Nucleation Device that Uses Ultrasonic Energy
U.S. patent application, US20210161182, discloses a beverage nucleation device that includes a housing, a beverage receiving area, a beverage container containing a supercooled beverage, and a support configured to support the beverage container in an upright orientation in the beverage container receiving area. An ultrasonic transducer of the beverage nucleation device is configured to generate and apply ultrasonic energy to the beverage container via an applicator so as to form a slush beverage within the beverage container. The figure below is a front perspective view of a beverage nucleation device.
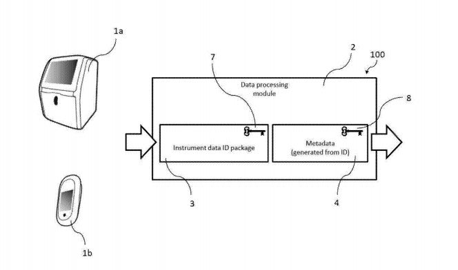
Roche Eyes a Patent for a Method of Data Processing for Analyzing Biological Samples
U.S. patent application, US20210168124, relates to a method for data processing for an analytical instrument involving biological samples. The method involves receiving analytical instrument data, generating metadata from the received data, applying encryption to the data, and transmitting the encrypted metadata and instrument data to a remote server. The figure below is a schematic diagram of the data processing module.
Abbott Seeks to Patent a Thermal Control System
U.S. patent application, US20210162418, discloses a thermal control system for controlling the temperature of whole blood sample fluid. The system permits accurate temperature measurement and control when measuring fluids of a particularly low volume of less than 1 mL. The system includes heating elements, a temperature-sensing probe, and a feedback controller. The figure below depicts the analyzing device with the control system during analysis.
Medtronic Aims to Patent a System for Generating Representative Cardiac Information
U.S. patent application, US20210161475, discloses a non-invasive system for generating a patient’s representative cardiac information based on multiple electrode signals. The system monitors the electrode signals over a plurality of cardiac cycles while removing unsatisfactory cardiac cycles, and invalid electrode signals, to assist a physician in evaluating and configuring cardiac therapy. The figure below illustrates the external electrode apparatus for measuring torso-surface potentials, the display apparatus, and the computing apparatus.
Merck Seeks to Patent Insulin Analogues
U.S. patent application, US20210163568, relates to insulin analogues produced by the direct conversion of a free amine to an azide via diazo-transfer with an azotransfer agent. The insulin or insulin analog is a recombinant human insulin and the azotransfer agent can be an imidazole-1-sulfonyl azide.
Boston Scientific Files a Patent for a Point-and-Click Programming System for Deep Brain Stimulation
U.S. patent application, US20210162224, discloses a visual point-and-click interface system that allows a user to optimize a patient’s stimulation parameters, without the need for tracking the precise settings for each electrode. The figure below shows user interface components with which the system receives input of annotations regarding stimulation settings.
PayPal Wants to Patent a Method for a Wish List Transaction Through a Smart TV
U.S. patent application, US20210166291, discloses a method for conducting a wish list transaction through a smart television (TV). The method includes enabling a user to share a wish/gift list with desired recipients utilizing a smart card via the smart TV and alerting the recipients to initiate a purchase of the wish/gift list item upon determining the content being viewed by the recipient on the smart TV is relevant to the wish/gift list item.
Intel Eyes a Patent for a Method for Detecting the Device Curvature in Smart Bendable Systems
U.S. patent application, US20210164775, discloses a method for determining the amount of physical bend in an electronic device and comparing the amount of the physical bend with a threshold value. The method further includes generating a warning if the amount of physical bend exceeds the threshold value. The values representing the amount of physical bend are stored in a nonvolatile memory on the electronic device and retrieved during a diagnostic event such as a warranty claim process. The figure below illustrates the generation of bend-related warnings.
Apple Files a Patent for an Electronic Device with Image Capture and Stimulus Features
U.S. patent application, US20210168281, discloses an electronic device integrated with image capture and stimulus features. The electronic device’s stimulus features attract the attention and gaze of a subject prior to and during the capture of the image to elicit the desired response (e.g., smiling, laughing) from the subject and allows a user of the electronic device to focus on operating the electronic device. The below figure illustrates the portable electronic device in use by a user to capture an image of a subject.
IBM Aims to Patent a Method for Context Retrieval in a Chatbot Conversation
U.S. patent application, US20210165967, discloses a method for supplementing context in dialog flows for chatbot systems. The method includes initializing a chatbot conversation between a chatbot and a user, identifying a set of entities and a set of one or more relationships, determining a set of relevancy scores for each entity, and generating a response to the user based on the set of relevancy scores. The figure below depicts the chatbot program engaging in a conversation with the user and generating responses based on the relevancy scores for the identified entities and relationships.
Microsoft Seeks to a Patent a Method for Generating a Document Summary
U.S. patent application, US20210166014, describes generating a summary of the main content of a page document based on the extracted feature information. The summary is generated by selecting a predetermined number of pages based on the importance of the content. The summary allows a user to quickly learn the main content of the document thereby shortening the time consumed in browsing all documents. The figure below illustrates a user interface for presenting a summary of a document.













