Search
Close this search box.

PayPal Users Can Now Pay Using Emojis

LinkedIn
X
Email

PayPal wants to patent a method for performing an emoji commanded action. This week’s newest patent applications are from Muanchart & Mankaew, Boston Scientific, Abbott, Medtronic, Merck, Roche, PayPal, IBM, Apple, Microsoft, and Intel.

47th week’s newest patent applications 2021

Muanchart & Mankaew Pursue a Patent on an Integrated Monitoring System for Closed Horticulture Cultivation Subsystems

U.S. patent application, US20210364995, discloses computational and networking environment arrangements to coordinate the activities, roles, operation, maintenance, and optimal use of multiple plant-cultivation enhancements and monitoring technology subsystems. Individual plants are provided with radio frequency identification (RFID) tags or tags that operate as an internet of things (IoT) entity. The invention provides for strategies for a wide range of user interface types and provides for flexible readily-customizable implementations. The figure below depicts a framework for an example setting, scope, and function of the invention.

Integrated Monitoring System for Closed Horticulture Cultivation Subsystems

Boston Scientific Files a Patent for an Endoscope Having Multiple Viewing Directions

U.S. patent application, US20210361153, discloses an endoscope having a first image sensor facing a distal direction, and a second image sensor facing a lateral direction for achieving imaging in multiple directions. The endoscope further comprises an adjustable elevator to provide multiple working directions. The figure below illustrates a distal-end view of the endoscope.

Patent for an Endoscope Having Multiple Viewing Directions

Abbott Aims to Patent a Data Processing and Control Method in a Medical Communication System

U.S. patent application, US20210361196, discloses a method for providing data communication and control for use in a medical telemetry system such as a continuous glucose monitor. The system receives multiple signals associated with a monitored glucose level for a predetermined time period and modifies a parameter associated with trend information which is determined based on a comparison of the received signals to a predefined signal range. The figure below illustrates an analyte sensor.

Data Processing and Control Method in a Medical Communication System

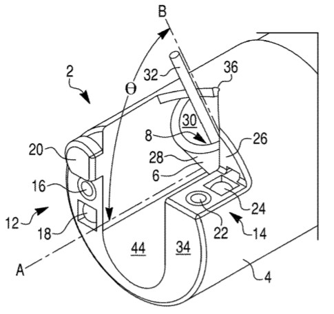
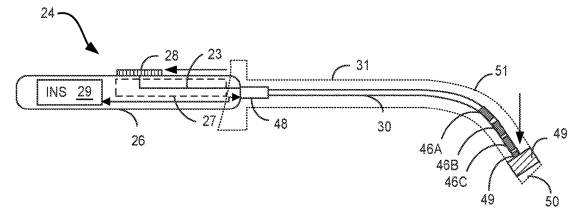
Medtronic Files a Patent for an Implantable Electrical Stimulator with a Deflecting Tip Lead

U.S. patent application, US20210361952, discloses an implantable medical device (IMD) that includes a neurostimulator, implantable lead carrying electrodes, and an actuator that deflects the tip of the implantable lead adjacent to a nerve of a patient. The figure below depicts an exemplary IMD with the lead having a deflecting tip and a sliding actuator.

Implantable Electrical Stimulator with a Deflecting Tip Lead

Merck Files a Patent for Formulations of Antiviral Compounds

U.S. patent application, US20210361663, relates to pharmaceutical formulations comprising an amorphous inhibitor of hepatitis C virus NS5A (HCV) prepared by roller-compaction or wet-granulation methods. The pharmaceutical formulations are available in oral dosage forms, such as tablets. The tablets may contain the active ingredient in admixture with non-toxic pharmaceutically acceptable excipients that are suitable for the manufacture of tablets.

Roche Files a Patent for Soluble TNF Receptors

U.S. patent application, US20210363222, relates to tumor necrosis factor (TNF) antagonists and corresponding nucleic acids derived from tumor necrosis factor receptors (TNFRs) that bind to TNF and prevent TNF from signaling to cells for the treatment of inflammatory diseases by parenteral administration.

PayPal Wants to Patent a Method for Performing an Emoji Commanded Action

U.S. patent application, US20210364322, discloses a method for receiving and executing emoji based commands in messaging applications. The method includes processes such as identifying emojis in a message, determining one or more actions based on the emoji, and completing the determined actions. The figure below illustrates exemplary emoji based command messages and responses from a system implementing the commands.

PayPal Wants to Patent a Method for Performing an Emoji Commanded Action

PayPal has taken strides to make future transactions even more convenient by applying for a patent on shared mobile payments. With the help of this cutting-edge technology, users will be able to securely and quickly manage their money using only their smartphones!

IBM Aims to Patent a Method for Executing Voice Commands by Selected Devices

U.S. patent application, US20210365237, discloses a method for executing voice commands of a user by selected devices. The method includes defining a region of inclusion of controllable devices, adjusting the region of inclusion based on the indication of the user, instructing the AR device to display to the user the adjusted region of inclusion, and instructing only the controllable devices in the adjusted region of inclusion to execute a user command. The figure below illustrates adjusting the region of inclusion of controllable devices based on the indication of the user.

IBM Aims to Patent a Method for Executing Voice Commands by Selected Devices

Apple Seeks to Patent a Method for Adding Hand Drawn Animation Motion Paths

U.S. patent application, US20210366175, discloses a method for adding a hand-drawn animation motion path for an object to follow on a graphical user interface (GUI). The method includes detecting the hand drawing of a motion path in a display, generating a motion animation of the object according to the motion path, and presenting the motion animation of the object along the motion path. The figure shows the animation for the object using the hand-drawn motion path.

Apple Seeks to Patent a Method for Adding Hand Drawn Animation Motion Paths

Microsoft Seeks a Patent for Method for Shadow Culling

U.S. patent application, US20210366176, describes a method for shadow culling when rendering a 3D computer graphics virtual world. A depth buffer is rendered in a camera to generate a hit map. The pixels in the hit map, corresponding to an object, are checked to determine whether a shadow test will be needed for the object. If the object brings nothing to the primary scene, then the object is excluded from the shadow map, thus saving GPU processing resources. The figure below depicts an example hit map.

Microsoft Seeks a Patent for Method for Shadow Culling

Intel Aims to Patent a Method for Determining a Signal from a Vehicle

U.S. patent application, US20210368310, discusses a method for determining a signal from a vehicle and generating an alert based on the determination. The method includes identifying a range of frequencies associated with vehicular communication, determining that a frequency of a received signal is within the range of frequencies associated with vehicular communication, and generating the alert that the vehicle is approaching. The figure below illustrates a network area for signal determination.

Intel Aims to Patent a Method for Determining a Signal from a Vehicle

LinkedIn
X
Email

Have any content requests?

You can let us know at [email protected]

Recent Blog Posts

Subscribe to Our Weekly Newsletter

Join over 30,000 of your Peers! Sign-up for latest IP insights.

Subscribe to Our Weekly Newsletter

Join over 30,000 of your Peers! Sign-up for exclusive content and get the latest IP insights delivered directly to your inbox.

Skip to content