Nestle eyes a patent for a food processing system. This week’s newest patent applications from Nestle, Roche, Boston Scientific, Abbott, Medtronic, Merck, Visa, Apple, IBM, Intel, and Microsoft.

Nestle Eyes a Patent for a Food Processing System
U.S. patent application, 20210186068, discloses a food processing system, comprising a solid-state radio frequency cooking means that transmits an electromagnetic wave to a food substrate and a cavity where the food is cooked. The system monitors the return power losses, which are the difference between the power emitted by the solid-state radio frequency cooking means and the reflected power in the cavity. The system optimizes the delivery of the radio frequency power to the food substrate by controlling and adjusting the emitted frequency of the solid-state radio frequency cooking means and the distance of the cooking means to the food substrate. The below figure shows a general view of the food processing system.
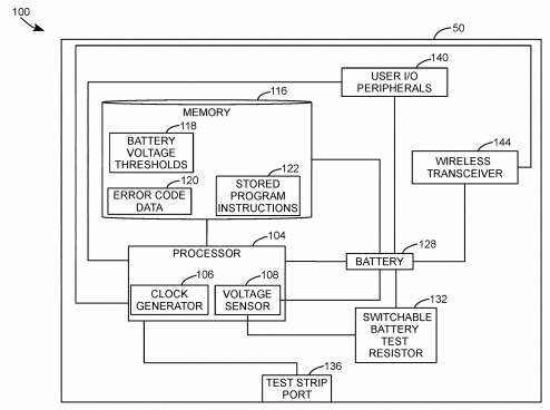
Roche Pursues a Patent on a Method for Battery Passivation in a Medical Device
U.S. patent application, US20210186384, relates to a method for operating a medical device in a low power mode. The method involves measuring a first level voltage of the battery, applying a discharge pulse to the battery when the first voltage level is greater than a predetermined passivation minimum voltage threshold, applying a second discharge pulse to the battery, measuring a second voltage level of the battery and then operating the medical device in response to the second voltage level being greater than or equal to a predetermined operating voltage threshold. The figure below represents a schematic of the battery-powered medical device.
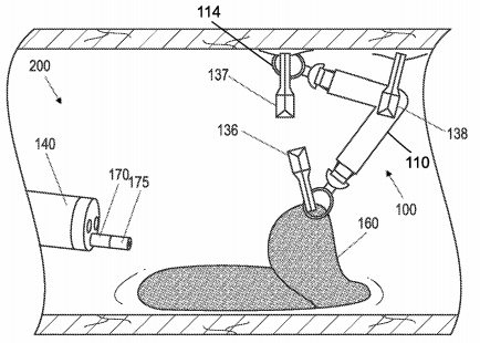
Boston Scientific Files a Patent for Tissue Retraction Bands
U.S. patent application, US20210186480, discloses a tissue traction device for maintaining traction as the boundaries of the target tissue are dissected in endoscopic procedures. The device includes a traction band pivotably attached to attachment members using swivels. The figure below illustrates the tissue resection procedure using the tissue traction device.
Abbott Eyes a Patent for Analyte Sensors
U.S. patent application, US20210190719, relates to an analyte sensor system that includes a sensor tail containing a first and a second working electrode. A first active area is disposed upon the first working electrode and a second active area is disposed upon the second working electrode, the first and the second active area being responsive to different analytes. A mass transport limiting membrane is deposited upon the first active area and the second active area by sequential dip-coating operations. The mass transport limiting membrane comprises a bilayer membrane portion overcoating the first active area and a homogeneous membrane portion overcoating the second active area. The figure below represents the schematic of the analyte sensor system.
Medtronic Wants a Patent for an Implantable Medical System
U.S. patent application, US20210194289, relates to an implantable medical system and an external charger. The system includes a rechargeable power source, electronic components coupled to the rechargeable power source to deliver a therapy. The system further includes a recharge system with a secondary coil to receive power via an inductive power transfer, a housing forming an internal compartment and a flux guide having a ferrite sheet disposed between the recharge coil and the printed circuit board assembly. The figure below represents the implantable medical system.
Merck Files a Patent for an Antibody Neutralizing Human Respiratory Syncytial Virus
U.S. patent application, US20210188951, relates to monoclonal antibodies with high anti-RSV neutralizing titers, where the isolated nucleic acids encoding the antibodies and the host cells are transformed. The invention is used in diagnostic, prophylactic, and therapeutic methods employing the antibodies and nucleic acids, particularly as a passive immunotherapy agent in infants and the elderly.
Visa Seeks to Patent an Enhanced Transaction Suspension Method Using AI
U.S. patent application, US20210192527, discloses a method for detecting suspect transactions on an account of a consumer using an artificial intelligence (AI) engine. The method includes identifying a merchant phone number relating to the purchase information received from an electronic purchase device, suspending the transaction from completing if the phone number is determined to be fraudulent by the AI engine and communicating notice of the transaction to a responsible party of the account.
Apple Eyes a Patent for a Method of Transferring a Virtual Object
U.S. patent application, US20210193084, discloses a method for transferring a virtual object. The method comprises displaying a virtual object in an enhanced reality setting, receiving a request to transfer the virtual object, determining whether a set of virtual object transfer criteria is satisfied, and displaying the movement of the virtual object away from an avatar when the set of virtual object transfer criteria is satisfied. The figure below illustrates transferring the virtual object between the avatars.
IBM Seeks to Patent a Method for Identifying Clothing Design Attributes for Geographical Regions
U.S. patent application, US20210192552, discloses a method for identifying clothing design attributes for geographical regions. The method includes identifying cloth attributes, accessing information related to user sentiments regarding the cloth attributes, identifying location-dependent attributes based on the user sentiments, and recommending the location-dependent attributes having a positive user sentiment. The figure below illustrates the method for identifying location-dependent attributes.
Intel Aims to Patent a Mobile Augmented Reality System
U.S. patent application, US20210192848, discloses an augmented reality system for a mobile device. The system includes a camera to provide images of a scene from different angles to a server, a sensor to sense a position and an orientation of the camera, and a screen to display the augmented reality data over a three-dimensional representation of the scene based on the position and the orientation of the camera. The figure below illustrates an augmented live view of an object of interest in the scene.
Microsoft Seeks a Patent for Automatically Generating Motions of an Avatar
U.S. patent application, US20210192824, describes a method for generating facial motion or body motion of an avatar on a presentation area during a messaging session between a user and an electronic conversational agent (i.e. chatbot). The facial and body motion are generated based on a message (e.g., voice, text, etc). The avatar is a visual representation of the electronic conversational agent. The figure below illustrates an application scenario of a virtual avatar.











