This week’s newest patent applications are from Snap, Novartis, Abbott, Boston Scientific, Roche, Merck, Medtronic, Mastercard, Microsoft, IBM, Apple, and Intel. Learn about Microsoft’s latest patent, which would use thermal images to measure a person’s body temperature. Stay up-to-date on the latest patent prosecution news.

Snap Pursues a Patent on a Wristwatch Based Interface for Augmented Reality Eyewear
U.S. patent application, US20210397000, discloses augmented reality eyewear that presents a user with a graphical user interface (GUI). The GUI appears to be in the airspace directly in front of the user and anchored to a wristwatch allowing a user to interact with the augmented reality eyewear device. The interface combines the displays of the wristwatch and the augmented reality eyewear device into a single GUI providing enhanced display function and more responsive gestural input. The figure below represents the wristwatch being used as a simulated planar shift input interface.

Learn more about the new patent from Google that will use augmented reality (AR) to help identify a pickup or drop location.
Novartis Seeks a Patent for Biomarkers for Evaluating Car-T Cells
U.S. patent application, US20210396739, relates to cancer biomarkers and methods of their use in evaluating CAR-T cell therapies and predicting clinical outcomes. The methods include, identification and use of analytes or markers and expression profiles of genes and proteins that have clinical relevance to cancer such as chronic lymphocytic leukemia (CLL).
Abbott Wants a Patent for Infusion Devices
U.S. patent application, US20210398663, discloses a glucose monitoring system. The system includes a display, a transmitter, and a skin-mounted assembly with an in vivo glucose sensor having alert features that assist the user in maintaining proper blood glucose levels. The figure below illustrates the handheld glucometer system with a disposable test strip.

Boston Scientific Files a Patent for Systems for Programming Neuromodulation Waveforms
U.S. patent application, US20210393951, discloses a system for programming neuromodulation therapy to treat neurological or cardiovascular diseases. The system includes an input circuit that receives a modulation magnitude and a controller that programs an electro-stimulator to generate and deliver electrostimulation therapy. The figure below illustrates the neuromodulation system and portions of the environment in which the neuromodulation system operates.
Roche Aims to Patent Spatially Oriented Quantum Barcoding of Cellular Targets
U.S. patent application, US20210395805, discloses a method for detecting the presence and spatial location of a target in a tissue sample by attaching an anchor to the target and assembling unique positional barcodes on the anchor. The method includes covalently attaching an anchor to a target in the tissue sample via a reactive group, hybridizing the subcodes using sonic irradiation, amplifying the subcodes, and then detecting the presence of the target and its location in the tissue sample. The diagram below illustrates detecting a spatially-labeled protein target with an antibody.
Merck Wants to Patent a Method for Deposition of Highly Selective Metal Films
U.S. patent application, US20210398848, discloses a method for atomic layer deposition (ALD) of a metal. The method includes exposing a surface of the substrate comprising a metal portion, to a metal-organic precursor, selectively depositing a metal-organic precursor on an upper surface of the metal portion, exposing the metal precursor layer to a co-reactant, and depositing the co-reactant on the metal precursor layer, wherein the co-reactant takes part in a ligand exchange with the metal precursor layer. The image below shows the selective deposition of ruthenium (RU) on Copper (Cu).
Medtronic Eyes a Patent for an RF Energy Harvesting Antenna
U.S. patent application, US20210399584, discloses a wireless power receiving antenna to harvest radio-frequency (RF) energy from the nearby environment to provide electrical energy to an implantable medical device (IMD). The system reduces how often the IMD needs to be recharged, and the length of time needed to recharge the IMD. The figure below depicts an example system that includes the IMD with a rechargeable power source and the antenna that harvests RF energy to charge the rechargeable power source.
Mastercard Seeks to Patent a Method for Processing Data Messages from a User Vehicle
U.S. patent application, US20210398119, discloses a method for performing an electronic transaction initiated by a vehicle. The method includes securely registering a vehicle computing device with a payment processing system through a secure registration token corresponding to a cardholder and authenticating a payment transaction initiated by the cardholder using the vehicle computing device by matching a secure transaction token received in an authorization request message to the secure registration token.
Microsoft Seeks a Patent for Body Temperature Estimation
U.S. patent application, US20210393137, describes a method for estimating human body temperature by capturing thermal images of a real-world environment via a thermal camera. The method identifies a position and a skin tone of a human face within the thermal image, applies a skin tone correction factor to one or more thermal intensity values in the image pixels, and estimates the body temperature based on the one or more corrected values. The figure below illustrates the estimation of body temperatures of a human subject.
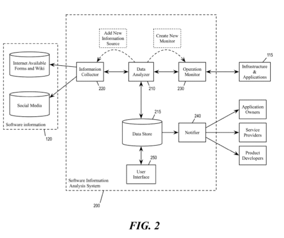
IBM Eyes a Patent for a System for Software Information Analysis
U.S. patent application, US20210397717, describes a system for software information analysis that assesses the operational risks of using a particular set of software. The system identifies one or more software entities used by one or more applications operating in an environment and extracts opinions regarding the identified one or more software entities. The system calculates an operational risk metric for the environment based on sentiments expressed in the extracted opinions. The figure below depicts the software information analysis system.
Apple Pursues a Patent on a Method of Smart Cropping of Images
U.S. patent application, US20210398333, discloses a method to perform automatic cropping of images, for a requested target dimension and/or aspect ratio. The method uses saliency maps to identify the parts of the image containing the most important content and ensures that the important content is included from the image in a determined cropped region. The figure shows the source image, saliency map, and the region of interest to be included in the cropped image.
Intel Aims to Patent Electronic Devices with Moveable Display Screens
U.S. patent application, US20210397219, discloses an electronic device with a moveable display screen. The electronic device includes a lid having a first display screen and a base. The base includes a housing having a top side with a physical keyboard and a second display screen. The second display screen moves between a retracted position in which the keyboard is exposed and an expanded position in which the keyboard is covered. The figure below illustrates the display screen in the first and second positions.











