Search
Close this search box.

Mastercard Wants to Prevent Intoxicated Users From Making Transactions

LinkedIn
X
Email

This week’s newest patent applications are from Integrated Solution for Systems Inc, Novartis, Abbott, Roche, Medtronic, Merck, Boston Scientific, Mastercard, IBM, Apple, Microsoft, and Intel. Mastercard prevents intoxicated users with a revolutionary patent to help protect users from making potentially risky transactions. This technological advancement safeguards customers’ money and keeps them safe by preventing intoxicated people from conducting any financial activity on their cards.

3rd week 2022 newest patent applications

Integrated Solution for Systems, Inc. Pursues a Patent on an Autonomous Robotic Cargo System

U.S. patent application, US20220017341, discloses an autonomous robotic cargo system (ARCS) for moving cargo inside an aircraft or at any other designated location. The system has a chassis coupled to one or more tracks, one or more forks for loading and unloading the cargo, a laser scanner positioned on the chassis to capture data indicative of the chassis’ environment, and a control processor that pre-generates a preliminary pathway for the chassis to travel from a first location to a second location. The figure below illustrates the robotic cargo system moving and accurately positioning cargo inside an aircraft.

Pursues a Patent on an Autonomous Robotic Cargo System

Novartis Seeks a Patent for a Combination of Midostaurin and an MCL-1 Inhibitor

U.S. patent application, US20220016118, relates to the co-administration of a pharmaceutical composition containing a combination of midostaurin, a multi-targeted tyrosine kinase inhibitor and a Mcl-1 inhibitor, (2R)-2-{[(5S.sub.a)-5-{3-chloro-2-methyl-4-[2-(4-methylpiperazin-1-yl)eth- oxy]phenyl}-6-(4-fluorophenyl)thieno[2,3-d]pyrimidin-4-yl]oxy}-3-(2-{[2-(2–methoxyphenyl)pyrimidin-4-yl]methoxy}phenyl)propanoic acid or Compound B of formula (I) for the treatment of acute myeloid leukemia.

Abbott Wants a Patent for a Digital Pass Verification System

U.S. patent application, US20220020481, discloses a digital pass verification system for granting/denying access to a person to a particular location or area by scanning a digital pass. The system generates the digital pass that is stored on the user’s smartphone or smartwatch for the person if he/she tests negative for a particular infectious disease. The figure below illustrates the digital pass management system that interfaces with multiple persons or entities to facilitate the example digital pass verification processes.

Abbott Patent for a Digital Pass Verification System

Roche Aims to Patent Tunnel Junctions in Microfluidic Arrays

U.S. patent application, US20220018809, discloses a technology to analyze molecules by tunneling recognition at a tunneling junction. When a molecule makes contact with two electrodes in the tunneling junction, the molecule allows current to tunnel through the molecule, and based on the electrical characteristics, a portion of the molecule can be identified. The figure below shows a system of tunneling junctions.

Roche Patent Tunnel Junctions in Microfluidic Arrays

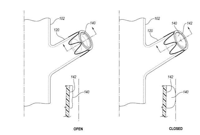
Medtronic Eyes a Patent for a Stent Graft with Sacrificial Ports

U.S. patent application, US20220015891, discloses a stent-graft assembly for allowing subsequently-delivered surgical devices during an endovascular procedure. The stent-graft assembly includes two sacrificial ports that transition between an open configuration to enable the surgical tools to pass between the stent graft’s branches and a closed configuration to inhibit blood flow therethrough. The figure below illustrates a method of closing the sacrificial port.

Medtronic Eyes a Patent for a Stent Graft with Sacrificial Ports

Merck Aims to Patent a Method for Producing Virtual Three-Dimensional Patterns in Molded Bodies Made of Plastic

U.S. patent application, US20220016816, discloses a method of a two-step process for the production of virtual three-dimensional patterns in polymeric moldings with the aid of injection-molding processes. A conventional injection-molding process and a reactive injection-molding process are employed in a suitable manner to obtain polymeric moldings having a virtual three-dimensional pattern that is formed by flake-form effect pigments, and to the polymeric moldings produced. The process utilizes a pigmented thermoplastic film having organic or inorganic colored pigments, dyes, and/or fillers.

Boston Scientific Files a Patent for a System for Securing an Implant to a Tissue

U.S. patent application, US20220015755, describes a system that comprises an anchor element around the implant, the anchor element includes a pair of tabs each include an eyelet, and a flexible intermediate portion between the tabs. A distal tip of a fixation element delivery tool is inserted through the eyelets and into the soft tissue, the fixation element includes at least one tissue anchor and an adjustable suture arrangement coupled to the tissue anchor. The image below illustrates a fixation element for use in securing the medical implant and anchor element.

Boston Scientific Files a Patent for a System for Securing an Implant to a Tissue

Mastercard Seeks to Patent a Method for Detecting an Intoxicated User When Processing Payment Card Transactions

U.S. patent application, US20220020021, discloses a method for detecting intoxicated users while processing payment card transactions in conjunction with a user device. The user device detects the intoxicated user using the device’s motion-sensing hardware, user endpoint data, and application-level data. The payment card system denies the transaction when the user’s device detects that the user is impaired.

IBM Aims to Patent a Method for Modifying the Audio of a Conferencing System

U.S. patent application, US20220020388, describes a method for modifying audio-based communications produced during a conference call. The method includes identifying an unwanted audio component from monitored utterances transmitted via the audio feed of a device connected to the conference call and modifying the audio feed by removing the unwanted audio component from the audio feed. The figure below illustrates modifying the audio feed for an example conferencing system.

IBM Aims to Patent a Method for Modifying the Audio of a Conferencing System

Apple Pursues a Patent on a Blood Pressure Measurement Device Employing an Integrated Flexible Sensor

U.S. patent application, US20220015652, discloses a blood pressure (BP) measurement device employing an integrated flexible sensor for BP measurements. The device includes a cuff to wrap around a limb of a user, a bladder to compress the limb of the user when inflated and a piezoelectric sensor coupled to the cuff to detect blood flow through the limb of the user. The device includes a processor coupled with the piezoelectric sensor to determine the BP of the user based on correlating the isolated sounds of blood flow with the pressure inside the bladder. The figure below shows a BP measurement device employing the integrated sensor.

Blood Pressure Measurement Device Employing an Integrated Flexible Sensor

Microsoft Eyes a Patent for User Validation in Online Join Scenarios

U.S. patent application, US20220021680, relates to a method of validating whether a prospective meeting participant is among a known group of trusted users and allowing the participant to join the meeting if the participant is validated as a trusted user. On the other hand, if the participant is not validated as a trusted user, the meeting organizer views them through their camera and may admit them to the meeting after validation. The figure below illustrates a user interface when an invalidated user attempts to enter an online meeting

Microsoft Eyes a Patent for User Validation in Online Join Scenarios

Intel Aims to Patent a Real-Time Mask Quality Predictor

U.S. patent application, US20220020156, discusses an image processing apparatus that captures a volumetric broadcast video signal in real-time and generates a sequence of frame images from the captured signal. The apparatus segments an input image, corresponding to a single frame of the sequence of frame images, to generate a mask image associated with the input image, and determine a mask quality score based on the input image and the associated mask image in real-time. The figure below illustrates predicting the mask quality in real-time.

Intel Patent a Real-Time Mask Quality Predictor

Discover how Google’s robotic manipulation revolutionizes by leveraging state-of-the-art reinforcement learning techniques. Explore the potential for this technology to enhance automation capabilities in robotics significantly!

LinkedIn
X
Email

Have any content requests?

You can let us know at [email protected]

Recent Blog Posts

Subscribe to Our Weekly Newsletter

Join over 30,000 of your Peers! Sign-up for latest IP insights.

Subscribe to Our Weekly Newsletter

Join over 30,000 of your Peers! Sign-up for exclusive content and get the latest IP insights delivered directly to your inbox.

Skip to content