Search
Close this search box.

Lockheed Martin Develops Wireless Communication Verification

LinkedIn
X
Email

Lockheed Martin aims to patent a method for the verification of wireless communication between a vehicle user and a remote entity. This week’s newest patent applications are from Lockheed Martin, Abbott, Medtronic, Roche, Merck, Boston Scientific, Visa, Apple, Intel, IBM, and Microsoft.

29th week patent applications

Lockheed Martin Aims to Patent a Method for the Verification of Wireless Communication Between a Vehicle User and a Remote Entity

U.S. patent application, US20210225371, discloses a method of verification of wireless communication between an aircraft and a remote entity. The method comprises receiving a wireless signal from the remote entity wherein the wireless signal includes a speech communication, analyzing the wireless signal to identify the wireless communication, and recognizing a known directive within the speech communication based on stored contextual information. The known directive is presented as a textual representation to a user of the aircraft. The figure below illustrates the communication between the aircraft and the remote entity.

Wireless Communication Between a Vehicle User and a Remote Entity

Abbott Wants to a Patent a System for Episode Detection and Evaluation

U.S. patent application, US20210225524, discloses a system for the detection of episodes in an analyte measurement. The system includes an in vivo sensor control device, an analyte sensor in a diabetic’s body, a reader device with Episode Investigative Software (EIS) that analyzes the measurement data and assists in patient behavior modification to reduce the occurrence of episodes. The figures below depict the user interface screens of the EIS on the reader device.

Episode Investigative Software (EIS) Episode Detection and Evaluation

Medtronic Eyes a Patent for a Peritoneal Dialysis Fluid Testing System

U.S. patent application, US20210220541, discloses a testing system that includes a peritoneal dialysis cycler, a catheter for removing peritoneal dialysate from a patient, a fluid line fluidly connected to the catheter, a pump, and a fluid sensor that detects peritonitis or infection markers in the fluid line. The figure below illustrates the fluid sensor apparatus to be used with the peritoneal dialysis cycler.

peritoneal dialysis cycler

Roche Seeks to Patent a Method for Cancer Prognosis

U.S. patent application, US20210222251, discloses a method for predicting response to therapy in a patient afflicted with colorectal cancer. The method involves isolating nucleic acids from a cell-free blood sample, determining the sequence of biomarkers in that sample, and calculating a tumor variant diversity index for that patient to determine a good or a poor prognosis.

Merck Files a Patent for a Lyosphere Critical Reagent Kit

U.S. patent application, US20210223262, relates to lyophilized pellets with low concentrations of antibodies in the form of lyospheres. The lyospheres formulations are highly stable and are suitable for use in diagnostic and quality control kits particularly, wherein multiple antibodies are used and the lyospheres can be color-coded for ease of operation. The lyosphere comprises an antibody, a buffer, a surfactant, and different types of sugars.

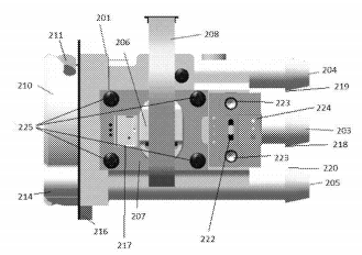
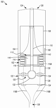
Boston Scientific Files a Patent for an Electromagnetically Driven Blood Pump

U.S. patent application, US20210220637, discloses a magnetic drive system for a blood pump. The drive system includes an impeller, a driven magnet assembly coupled to a drive shaft and the impeller, and a driving coil assembly to drive the impeller to provide blood flow. The figure below illustrates the blood pump system.

blood pump system

Telemedicine can help improve healthcare access and quality across the globe. Here are five areas where telemedicine is making the biggest impact.

Visa Aims to Patent a Method for Linking Accounts Across Systems

U.S. patent application, US20210224816, discloses a method for linking accounts across systems. The method includes receiving an authorization request message including transaction data and a Primary Account Number (PAN), identifying a token corresponding to the PAN, transmitting a request message comprising the transaction data and the token to an employer system, receiving a transaction adjustment data, and adjusting a parameter of the payment transaction based on the transaction adjustment data.

Apple Eyes a Patent for Floorplan Generation Based on Room Scanning

U.S. patent application, US20210225090, discloses a method for generating a floor plan based on room scanning. The method includes an electronic device obtaining three-dimensional (3D) semantic data of a physical environment, generating two-dimensional (2D) semantic data for multiple horizontal layers of the physical environment based on the 3D semantic data, and providing a view of the physical environment in the floor plan by generating an edge map using the 2D semantic data. The figure below illustrates the process of 2D floor plan generation.

Floorplan Generation Based on Room Scanning

Intel Seeks to Patent a Method for Environment-Sensitive Wake-On-Voice Initiation Using Ultrasound

U.S. patent application, US20210225374, discloses a method for environment-sensitive wake-on-voice initiation using ultrasound signals. The method includes receiving audio data of a human voice to detect one or more waking keywords, determining one or more environmental indicators using ultrasound, and waking applications based on the detected waking keywords and the environmental indicators. The figure below illustrates environment-sensitive wake-on-voice initiation.

Environment-Sensitive Wake-On-Voice Initiation Using Ultrasound

IBM Seeks to Patent a Method for Overlaying Smart Display Information

U.S. patent application, US20210225052, discloses a method for selectively overlaying display information over a display image. The method includes applying an artificial intelligence machine learning analysis to identify content information about products identified in the display image, generating predicted health-related information for a viewer, and displaying the information overlay with the display image. The figure below illustrates a display screen having personalized health-related information overlaying the displayed image.

Method for Overlaying Smart Display Information

Microsoft Seeks a Patent for Intelligently Identifying a User’s Relationship with a Document

U.S. patent application, US20210224296A1, describes a method for identifying a user’s relationship with a document. The method includes receiving data related to one or more activities carried out by a user on a document in a specific application, identifying a category of user activity by analyzing the received data, and storing the identified category in association with the document. The figure below illustrates identifying the user’s relationship with the document.

User's Relationship with a Document

LinkedIn
X
Email

Have any content requests?

You can let us know at [email protected]

Recent Blog Posts

Subscribe to Our Weekly Newsletter

Join over 30,000 of your Peers! Sign-up for latest IP insights.

Subscribe to Our Weekly Newsletter

Join over 30,000 of your Peers! Sign-up for exclusive content and get the latest IP insights delivered directly to your inbox.

Skip to content