Labor Day is observed on the first Monday in September to honor the contributions and achievements of American workers and the labor movement. It should come as no surprise that the U.S. patent record holds a number of Labor Day–themed patents—spanning union badges, compliance systems, and AI-driven worker protections. Let’s take a look at the IP behind Labor Day across the decades:
1890s – Union Pride
- USD094311S – Design for a United Rubber Workers’ Federal Labor Union badge.
- A symbol of solidarity, proudly worn by union members during the rise of organized labor.

1910s–1920s – The Eight-Hour Workday
- USD34888S – Medal design promoting the eight-hour day.
- Features a pyramid (strength), a circle (24 hours), and imagery for work, rest, and recreation—capturing the famous labor slogan.

1940s – Labor Day in Entertainment
- US2284256A – Card game including a Labor Day wild card.
- Shows how the holiday entered popular culture as a recognized piece of American life.

1970s – Holiday Promotions
- US3565437A – Board game featuring Labor Day among other sale-day holidays.
- Reflects the growing commercialization of Labor Day as part of retail events and seasonal sales.

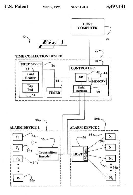
1990s – Compliance Alerts
- US5497141A – System to alert supervisors before labor law violations occur.
- Early tech to protect workers—preventing child labor and excessive hours through automated warnings.

2000s – Managing Contract Labor
- US2005021350A1 – System for managing contract labor data.
- Helped track worker qualifications, safety training, and insurance compliance amid the rise of contingent labor.
2010s – Digital Compliance Tools
- US2010185500A1 – Platform for labor law and HR risk management.

- US2015379521A1 – Electronic compliance information and notification system.
- Brought compliance into the digital age, keeping employers and employees informed in real time.
2020s – AI in Worker Protections
- US12321144B2 – AI-based compliance platform for mining operations.
- US11783245B2 – Intelligent scheduling system respecting labor law requirements.
- Demonstrates how AI now safeguards workplace rights, ensuring fair scheduling and legal compliance.
From union badges to AI-powered compliance, Labor Day has woven itself into the threads of innovation. This timeline reveals not just patents—but a proxy for how society values labor: from symbolism and advocacy to digital enforcement and beyond. So this Labor Day, remember: innovation—and legal protections—have helped workers rest, play, and earn in safety for over a century.


