Intel files a patent for an automated delivery device for delivering a package. This week’s newest patent applications are from Sony, Boston Scientific, Merck, Abbott, Medtronic, Roche, PayPal, Microsoft, Intel, Apple, and IBM.
Sony Pursues a Patent on a Farm Work Support System
U.S. patent application, US20210349933, discloses a collaborative farm work support system. The system comprises a memory, and a processor configured to store information regarding a plurality of previous key events of previous instances of a crop cultivated in one or more fields. The processor receives information from a user device via a network regarding a key event of the crop cultivated in a first field different from the one or more fields, generates support information for the crop based on a relationship between the received information and the stored information, and transmits the support information and a generated tagged image to the user device via the network. The figure below illustrates a display example of the distribution of the fields on the map.
Boston Scientific Files a Patent for a Device for Treating Tissues
U.S. patent application, US20210345950, discloses a system for managing pain in a patient. The system includes sensors, a pain analyzer that generates a pain score using the sensed signals, a calibration module that calibrates a fusion model based on measurements from the sensed signals, and a reference pain quantification corresponding to multiple pain intensities. The figure below illustrates the pain management system.
Merck Files a Patent for Liquid-Crystal Displays
U.S. patent application, US20210348056, relates to polymerizable compounds, to processes and intermediates for the preparation of liquid-crystal (LC) media, and to the use of the polymerizable compounds and LC media for optical, electro-optical, and electronic purposes, in particular in LC displays of the polymer sustained alignment type. The figure below illustrates the chemical formula of the polymerizable compound used in LC media.
Abbott Wants to Patent an Optical Imaging System for Digital Assays
U.S. patent application, US20210349031, discloses a compact optical imaging system that includes a single filter and a light source to provide lateral illumination for bead detection for analyte analysis in digital assays. The figure below illustrates the perspective view of the optical imaging system.
Medtronic Eyes a Patent for an External Wireless Power Transfer Coil
U.S. patent application, US20210330884, discloses an external power transfer coil system for a transcutaneous energy transfer system (TETS). The system includes a housing with an external coil being partially disposed of within a thermal insulating base and thermally conductive plastic. The figures below depict a controller or power supply and the external coil for the power transfer to an implantable blood pump.

Roche Seeks to Patent an Immunoassay for C-Peptide
U.S. patent application, US20210349108, discloses a method for detecting and measuring C-peptide. The method provides an antibody-ligand-complex, which involves contacting the complex with a sample to be analyzed, displacing the ligand from the complex by C-peptide analyte, and then determining the presence or concentration of C-peptide analyte within the sample.
PayPal Aims to Patent a Method for Visualization of Spending Data in an Altered Reality
U.S. patent application, US20210349578, discloses a method for visualizing user spending data in an altered reality. The method includes enabling the user to create rooms for different budgets or spending categories and allowing the user to interact with the contents of the altered reality to manage spending and budgets between rooms or categories where the rooms correspond to actual rooms or locations associated with the user. The spending data includes items purchased, budgets, prices paid, dates of purchase, and the amount spent.
Microsoft Eyes a Patent on a Shared Augmented Reality Game Within a Shared Coordinate Space
U.S. patent application, US20210346810, describes a system creating a shared coordinate space in an augmented reality (AR) video game created between devices with initially disjoint relative coordinate spaces. The AR game provides two modes with respect to users’ engagement in gaming and uses geolocation information to display a virtual action initiated by a user on a virtual environment that parallels a physical environment displayed on a gaming device of another user. The figure below illustrates a coordinate space in an AR game between devices.
Intel Files a Patent for an Automated Delivery Device for Delivering a Package
U.S. patent application, US20210350320, discloses an automated delivery device for transporting a package to a recipient’s location and receiving a token such as GPS location or photo from the recipient, wherein receiving the token provides a verification that the delivery device has moved the package to the recipient’s location. The figure below illustrates the trusted automated delivery of the package.
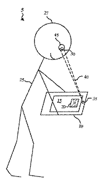
Apple Seeks to Patent a Biofeedback Method to Invoke Greater Pupil Radius Response
U.S. patent application, US20210349536, discloses a biofeedback method to invoke greater pupil radius response. The device utilizes a sensor to obtain physiological data associated with a pupillary response of a user with respect to the visual characteristics of a displayed object. The device adjusts the visual characteristics based on the obtained physiological data to enhance pupillary responses of the user and displays the adjusted visual characteristic to the user. The figure below illustrates the biofeedback method.
IBM Aims to Patent a Method for Detecting and Verifying an Online User
U.S. patent application, US20210349984, discloses a method for online user verification. The method includes providing a first question of a first cognitive level to a requestor requesting access to a resource, computing a confidence level of the answer received from the requestor, providing a second question of a second cognitive level to the requestor, and granting access to the requestor if the received answer is correct. The figure below is an exemplary diagram of a level 1 and level 2 question.












