Search
Close this search box.

IBM Plans To Create Shopping Routes

LinkedIn
X
Email

This week’s newest patent applications are from Yangtze, Novartis, Abbott, Boston Scientific, Medtronic, Roche, Merck, PayPal, IBM, Intel, Apple, and Microsoft. In this blog post learn about the IBM shopping routes patents.

 49th week’s 2021 newest patent applications

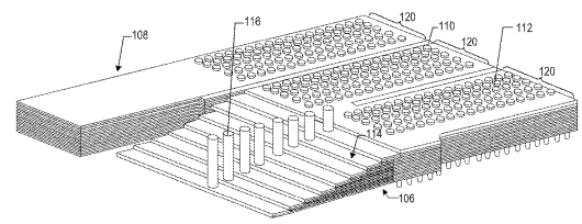
Yangtze Pursues a Patent on a Staircase Structure in a 3D Memory Device

U.S. patent application, US20210384124, discloses a 3D memory device including a memory array structure and a staircase structure. The staircase structure divides the memory array structure into a first and a second memory array structure along a lateral direction. The staircase structure includes a plurality of stairs, the stairs including a stair above one or more dielectric pairs for reducing leakage or short circuits. The figure below illustrates the 3D memory device having a staircase structure.

Yangtze Pursues a Patent on a Staircase Structure in a 3D Memory Device

Novartis Files a Patent for H3R Inverse Agonist

U.S. patent application, US20210379062, relates to the oral administration of H3R inverse agonist, 1-(1-methyl-6-oxo-1,6-dihydropyridazin-3-yl) piperidin-4-yl 4-cyclobutylpiperazine-1- carboxylate or Compound (I) for the treatment of excessive daytime sleepiness and cognitive function impairment associated with Parkinson’s disease.

Abbott Seeks a Patent for Needle Harvesting Devices

U.S. patent application, US20210378667, discloses a needle removal device that is used for the closure of arterial and venous puncture sites accessed through a tissue tract. The device includes a plurality of needle receptacles and a force of about one quarter to seventy pounds on each of the needles overcomes an initial resistance for removing needles from a suturing device. The figure below illustrates a detailed view of the needle guide of the suturing device.

Abbott Seeks a Patent for Needle Harvesting Devices

Boston Scientific Files a Patent for Luminal Structure Anchoring Devices

U.S. patent application, US20210378671, relates to an endosonography-guided transluminal intervention device for forming an anastomosis between two luminal structures in the body. The device includes a hollow central member, distal and proximal retention members positioned inside the luminal structures to draw the structures towards each other thereby creating a fluid conduit. The figure below illustrates the sectional view of the interventional endoscopy device.

Boston Scientific Files a Patent for Luminal Structure Anchoring Devices

Medtronic Aims to Patent a System and Method for Tracking a Subject

U.S. patent application, US20210369396, discloses a method of fixing a tracking device to a subject. The method includes positioning an anchor in a subject, engaging the anchor with an elongated member, moving a stabilization base along with the elongated member toward the anchor, and then contacting the subject with the stabilization base to hold the elongated member relative to the subject. The figure below depicts the tracking assembly.

Medtronic Aims to Patent a System and Method for Tracking a Subject

Roche Eyes a Patent for Nano-Enzyme Containers for Test Elements

U.S. patent application, US20210382042, discloses a method of producing a nanocapsule containing an enzyme molecule. The method involves polyaddition and/or polycondensation of suitable monomers at the interface of the continuous oil phase and the discontinuous aqueous phase. The figure below illustrates SEM images of nanocapsules.

Roche Eyes a Patent for Nano-Enzyme Containers for Test Elements

Merck Wants to Patent a Syringe Holder

U.S. patent application, US20210379278, discloses a syringe holder for holding and stabilizing syringes. The device includes a base, a vertical and a horizontal mount, a cylindrical cavity configured to attach the syringe to the base, and a lower and upper barrel support for receiving and attaching the bottom and top end of the syringe barrel. The figure below shows a front and right perspective view of a syringe holder.

Merck Wants to Patent a Syringe Holder

Paypal Seeks to Patent a Method for Accessing Accounts at a Payment System via Photos

U.S. patent application, US20210383352, discloses a method to access multiple payment accounts at a payment system via photos from a device. The method includes determining first and second images of a first and a second person in a photo, determining that the first and second images are associated with first and second payment accounts at the payment system, and authorizing a payment application in the device to initiate a transaction.

IBM Aims to Patent a Method for Custom Shopping Route Planning

U.S. patent application, US20210383458, discloses a method for generating shopping routes through shopping environments. The method includes generating a shopping list for a user based on items the user needs, updating the shopping list using an inventory image identifying the items located in the user’s inventory, and generating a shopping route through a shopping environment for the updated shopping list using a crowd-sourced or community updated map. The figure below illustrates shopping route options in the shopping environment.

IBM Aims to Patent a Method for Custom Shopping Route Planning

Intel Eyes a Patent on a Handover Assistant for Machine to Driver Transitions

U.S. patent application, US20210380143, discloses a vehicle handover system. The system monitors the environment of a vehicle and detects a key event related to a transition from an automated driving mode to a passenger driving mode. The system generates a handover scene that includes images associated with the key event and displays the images to the passenger before the system changes the control of the vehicle from the automated mode to the passenger mode. The figure below illustrates the vehicle handover system.

Intel Eyes a Patent on a Handover Assistant for Machine to Driver Transitions

Intel continues to innovate and drive the payment industry forward with its development of groundbreaking geo-fencing-based transactions. This cutting-edge technology will provide an entirely new way for users to securely complete payments without ever leaving their current location.

Apple Seeks to Patent Activity Zones for a Video Camera

U.S. patent application, US20210383554, discloses a user device establishing an activity zone or an exclusion zone within a video representing a physical view captured by a camera. An automatic monitoring system analyzes the video of the established zones and triggers object detection notifications associated with each zone to the user device. The figure below shows the object detection within the activity zone.

Apple Seeks to Patent Activity Zones for a Video Camera

Microsoft Seeks a Patent for Identifying Relationships among Topics Expressed in Web Documents

U.S. patent application, US20210382944, describes a method for identifying relationships among topics expressed in web documents by applying a machine-trained model. The method includes generating count information by counting the occurrences of single topics and co-occurrences of pairings of topics in the documents and formulating conditional probability information based on the count information in a graph data structure. The figure below depicts the sample graph data structure.

Microsoft Seeks a Patent for Identifying Relationships among Topics Expressed in Web Documents

LinkedIn
X
Email

Have any content requests?

You can let us know at [email protected]

Recent Blog Posts

Subscribe to Our Weekly Newsletter

Join over 30,000 of your Peers! Sign-up for latest IP insights.

Subscribe to Our Weekly Newsletter

Join over 30,000 of your Peers! Sign-up for exclusive content and get the latest IP insights delivered directly to your inbox.

Skip to content