Search
Close this search box.

Google to Use AR for Identifying Pickup/Drop Location

LinkedIn
X
Email

This week’s newest patent applications are from Google, Abbott, Boston Scientific, Medtronic, Merck, Roche, PayPal, Intel, Microsoft, IBM, and Apple.  Google has made an incredible leap into the future by using cutting-edge AR technology to make it easier than ever for users to identify pickup and drop locations. This groundbreaking development is revolutionizing how people experience location services!

52nd week 2021 newest patent

Google Pursues a Patent on a Method for Pickup and Dropoff Location Identification for Ridesharing via Augmented Reality

U.S. patent application, US20210407150, discloses a method for providing a display of a pickup location in a transportation service. The method includes receiving, by a server device, a request to transport a rider to a drop-off location; providing to a client device of the rider or a driver, a pickup location; receiving real-world imagery from a field of view of the client device of the rider or the client device of the driver; determining a location corresponding to the real-world imagery; comparing, the determined location to the pickup location; and presenting an augmented reality (AR) mode overlaying the real-world imagery on the client device of the rider or the driver to assist the rider or the driver. The figure below illustrates the display of the pickup location in the AR mode.

Pickup location in the AR mode

Do you know Visa has developed and patented for location-based resource access? Unlock and get the more information you need on location-based resource access.

Abbott Wants to Patent an Artificial Pancreas System for Integrated Continuous Glucose Monitoring

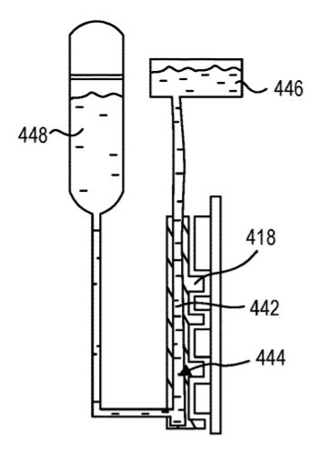
U.S. patent application, US20210402093, discloses an artificial pancreas system for integrating continuous glucose monitoring (CGM) or flash glucose monitoring with insulin therapy. The system includes a glucose sensor, an insulin pump, and a computing device that executes a closed-loop algorithm to provide insulin delivery instructions to the insulin pump. The figure below illustrates the glucose monitoring system configured for controlling the insulin delivery device.

Integrated Continuous Glucose Monitoring

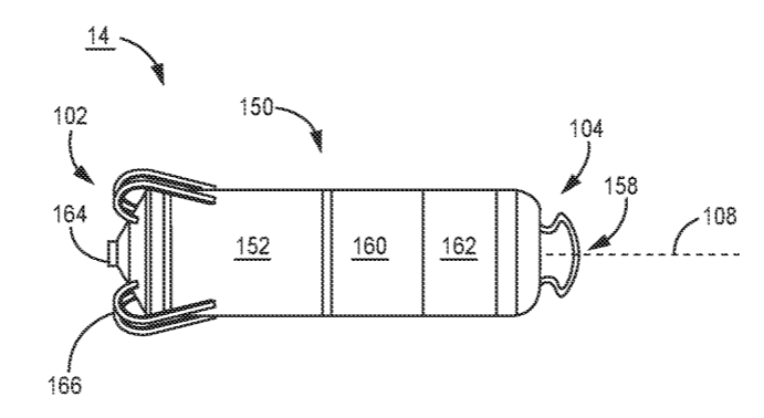
Boston Scientific Files a Patent for a Deployment Marker

U.S. patent application, US20210401536, discloses a system that allows the distal portion of a catheter to be visualized within a body using a colored marker. The system includes primary and secondary markers to indicate when a medical device is properly positioned for deployment within a body lumen. The below figure represents the deployment of a stent with a stent delivery system using markers.

Deployment Marker

Medtronic Aims to Patent an Apparatus for Atrial Tachyarrhythmia Detection

U.S. patent application, US20210401350, discloses an apparatus for atrial tachyarrhythmia detection. The device includes a sensor, a pulse generator, and a control circuit that determines a first atrial arrhythmia score from ventricular events sensed by a sensing circuit and a second atrial arrhythmia score from the cardiac mechanical signals and detects the atrial arrhythmia based on the first and second arrhythmia score. The figure below illustrates the intracardiac pacing system to detect atrial tachyarrhythmia.

Atrial Tachyarrhythmia Detection

Merck Wants to Patent a Method for Inactivating a Virus on a Surface

U.S. patent application, US20210402017, discloses a method for inactivating a virus on a surface, especially in relation to a SARS-CoV-2 virus. The method has a composition of ethyl 3-(N-butylacetamino) propionate, which is effective to inactivate a virus on the surface and maintain it for 30 seconds. The method is effective against enveloped and non-enveloped viruses and safe on animate and inanimate surfaces.

Roche Files a Patent for a Pertuzumab and Trastuzumab Fixed-Dose Combination

U.S. patent application, US20210403599, discloses a fixed-dose combination (FDC) of pertuzumab, trastuzumab, which is administered subcutaneously to patients, wherein a subcutaneous formulation of H (H SC) is co-formulated with recombinant human hyaluronidase (rHuPH20), and a permeation enhancer that allows subcutaneous administration of higher drug volumes to overcome some of the inconvenience associated with the IV infusion of H, and to ease repeated administrations over time in patients with HER2-positive breast cancer.

Paypal Seeks to Patent for Account Statement Assignment via User Interfaces

U.S. patent application, US20210406847, discusses providing user interfaces for account statement assignment. A user engaging in transactions over a time period using a payment card receives a balance statement. The user requests another user to provide a payment for all or a portion of the balance statement using user interfaces of a peer-to-peer payment system and a social networking platform. The other user processes the payment such that the funds are provided directly to the balance statement.

Intel Aims to Patent an Intelligent Traffic Management System for Vehicle Platoons

U.S. patent application, US20210407285, discloses a road controller system comprising a data store storing an active traffic policy, a processor for determining a speed or size of a vehicle platoon traveling in an area controlled by the road controller system, and a change in the speed or size of the platoon based on the active traffic policy, and a transceiver for transmitting a control message to the vehicle platoon to implement the speed or size change. The figure below illustrates the system for controlling the vehicle platoon.

Traffic Management System for Vehicle Platoons

Microsoft Seeks a Patent for a Scalable Thermal Ride-Through for Immersion-Cooled Server Systems

U.S. patent application, US20210410319, relates to a thermal management system for a computing device that includes an immersion tank with a cooling fluid. A computing device and a thermal block are positioned in the cooling fluid in the immersion tank. The computing device heats the cooling fluid, and the thermal block is configured to receive heat from the cooling fluid. The thermal block includes a fluid management feature to direct the flow of the cooling fluid relative to the thermal block and computing device. The figure below depicts a view of thermal block in fluid communication with external tanks.

Immersion-Cooled Server Systems

IBM Eyes a Patent for a Method for Accessibility Based Calendar Management

U.S. patent application, US20210406840, describes a method of accessibility-based calendar management. The method includes analyzing a set of actions of a meeting attendee, determining a set of accommodation rules for the meeting attendee, and modifying a meeting request conforming to the set of accommodation rules. The figure below illustrates an example of accessibility-based calendar management.

Accessibility Based Calendar Management

Apple Seeks to Patent a Device for Wirelessly Charging the Accessories Through the Face of the Display

U.S. patent application, 20210408826, discloses an electronic device configured to wirelessly charge an accessory (e.g., a stylus) through a display face of the device. The device includes a wireless charging assembly disposed within the enclosure on the display face. The wireless charging assembly includes a core having one or more windings, configured to generate a magnetic flux above the face to couple to the accessory, thereby providing power wirelessly to the accessory. The figure below shows the wireless charging assembly disposed within the enclosure of the electronic device.

Wirelessly Charging the Accessories Through the Face of the Display

LinkedIn
X
Email

Have any content requests?

You can let us know at [email protected]

Recent Blog Posts

Subscribe to Our Weekly Newsletter

Join over 30,000 of your Peers! Sign-up for latest IP insights.

Subscribe to Our Weekly Newsletter

Join over 30,000 of your Peers! Sign-up for exclusive content and get the latest IP insights delivered directly to your inbox.

Skip to content