Google pursues a patent on deep reinforcement learning for robotic manipulation. This week’s newest patent applications from Google, Boston Scientific, Medtronic, Merck, Roche, Visa, Apple, IBM, Microsoft, and Intel.

Google Pursues a Patent on Deep Reinforcement Learning for Robotic Manipulation
U.S. patent application, US20210237266, relates to using large-scale reinforcement learning to train a policy model that can be utilized by a robot in performing a robotic task. In various implementations, off-policy deep reinforcement learning is used to train the policy model which is based on self-supervised data collection. The implementations learn policies for non-grasping robotic manipulation tasks such as opening a door, throwing a ball, pushing objects, etc. The figure below illustrates an example environment in which the robotic manipulation is implemented.
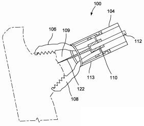
Boston Scientific Files a Patent for Biopsy Forceps with a Tissue Piercing Member
U.S. patent application, US20210236100, discloses a biopsy forceps device for use in endoscopic procedures. The device includes a control member, a yoke coupled to the control member, jaws with cutting edges to cut and receive the target tissue, and a capsule that slidably receives the yoke and jaws. The figure below shows the forceps device gripping the target tissue.
Medtronic Seeks Patents for User Activity Monitoring Systems and an Endovascular Catheter with an Internal Balloon
U.S. patent application, US20210241879, discloses a user activity monitoring system. The system receives blood glucose data and activity data of a user, determines product consumption recommendations based on the received data, and records an activity log with respect to time. The figure below illustrates a wrist wearable display device implementing the activity monitoring system.
Another application, US20210236774, discloses a catheter for selectively directing a surgical tool into multiple blood vessels of a patient. The catheter includes a catheter body with a main exit port and a side exit port, and an internal inflatable balloon that allows the surgical tool to advance out of the main exit port or the side exit port when deflated or inflated respectively. The figures below show a branched vasculature where the internal balloon allows a balloon stent to pass into the main vessel or into a secondary vessel.

Radiologists everywhere turn to artificial intelligence as the next great leap in the field. Learn more about how artificial intelligence in radiology will change the future of the radiology department and the entire healthcare.
Merck Wants a Patent for a Liquid Crystalline Medium
U.S. patent application, US20210238481, relates to compositions with benzotriazole derivatives for mesogenic media to be used in optical, electronic, and electro-optical applications, especially in devices for regulating the passage of energy from an outside space into an inside space, for example in windows. By application of a voltage, a change in the orientational alignment of dichroic dye molecules in combination with the liquid-crystalline medium is achieved in the switching layers, where these compounds exhibit favorable low-temperature stability and can give a suitable high degree of order.
Roche Seeks a Patent for a Method of Sample Display and Review
U.S. patent application, US20210239595, discloses a method of displaying red blood cell images in a sample. The method involves obtaining images of red blood cells in a sample, determining the value of a property for each of the cells in the sample, and then sequentially arranging the images of the cells according to the values of the property.
Visa Aims to Patent a Method for Detecting and Preventing Friendly Fraud
U.S. patent application, US20210241335, discloses a method for displaying a recommendation message including a potential familiar merchant name for a received chargeback message associated with an online transaction from a user. The method includes determining the potential familiar merchant name associated with an unfamiliar merchant by scanning the user’s browser history and detecting whether the user visited a website associated with the potential familiar merchant, which prevents friendly fraud and reduces processing of the chargeback requests.
Apple Pursues a Patent on Graphical User Interfaces for Annotating, Measuring, and Modeling Environments
U.S. patent application, US20210241483, discloses an annotation placement user interface (UI) that includes a representation of a field of view (FoV) of one or more cameras updated based on changes in the FoV. When the placement UI element is placed over a representation of a measurable physical feature in a physical environment, the appearance of the element changes as per the physical feature and measures the physical feature on receiving an input. The figure below illustrates a measurement scenario.
IBM Seeks to Patent a Method for Managing User Concentration in Work Environments
U.S. patent application, US20210241203, discloses a method for managing user concentration in a work environment. The method includes identifying a characteristic of a user’s task based on received user information, determining a concentration risk level associated with the user, and providing a computing environment based on the concentration risk level. The figure below illustrates a block diagram of a computing environment provided based on the concentration risk level.
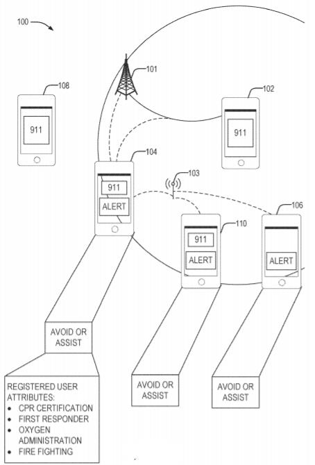
Microsoft Wants a Patent for a Location-Based Emergency Alert System
U.S. patent application, US20210243583, describes a system for alerting a device using information related to an emergency. The system receives emergency communications from an associated set of user devices, determines an emergency location based on the location of the user devices, and alerts at least one of the proximate user devices when the emergency communication exceeds a threshold. The figure below illustrates the emergency communication system.
Intel Aims to Patent a Method to Detect Collision of a Virtual Camera with Objects in a Three-Dimensional Volumetric Model
U.S. patent application, US20210241518, discusses a method for detecting collision of a virtual camera with objects in a three-dimensional (3D) volumetric model. The method includes creating a 3D volumetric model of a scene based on images obtained using cameras in the virtual camera, identifying a 3D location of the virtual camera in the 3D volumetric model, and detecting a collision between the virtual camera and one or more objects in the 3D volumetric model. The figure below illustrates the collision detection process.










