Search
Close this search box.

Flag Day Patents

LinkedIn
X
Email

Flag Day in the United States, observed annually on June 14th, is a day we honor the American flag and its significance. It commemorates the date in 1777 when the Continental Congress approved the design for the first national flag. While not a federal holiday, it’s a day of national observance, often marked by flag-raising ceremonies, parades, and other patriotic events.

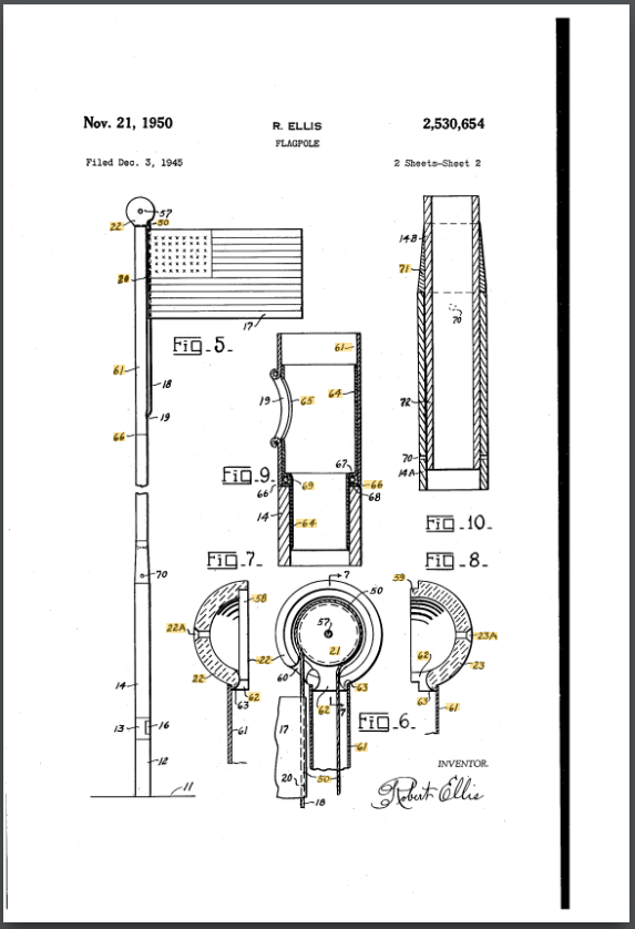
In this blog, we also celebrate the innovations that help display our Nation’s colors with pride. We can hang flags almost anywhere thanks to inventions like (US2530654).

US2530654

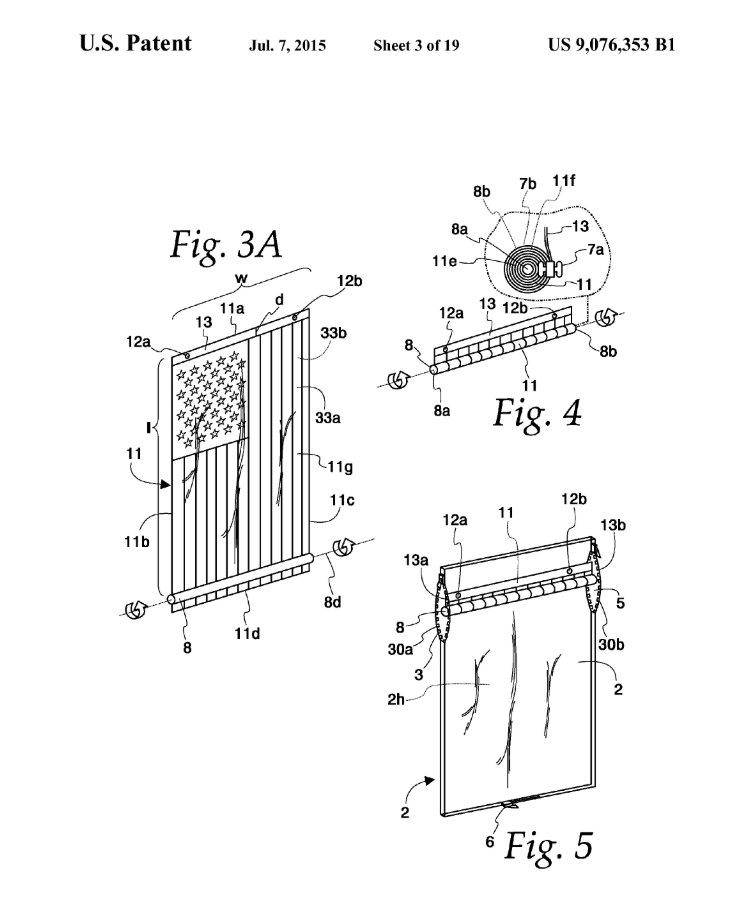
Americans are proud of our flag, and patents and applications at the U.S. Patent and Trademark Office document ways we Americans have found to protect the flag (US9,076,353 and US4972794):

US9,076,353
US4972794

Not surprisingly, we have also found several creative ways to display our flag:

Such as, on parking meters (US2686029):

US2686029

On our cars (US6860047 and US5727497A):

US6860047
US5727497A

On our motorcycles (US2012187166A1)

US2012187166A1

On our mailboxes (US6929173):

US6929173

And my personal favorite, even on our beverages (USD695626):

USD695626

Fly them high, and enjoy your Flag Day this Saturday!

LinkedIn
X
Email

Have any content requests?

You can let us know at [email protected]

Recent Blog Posts

Subscribe to Our Weekly Newsletter

Join over 30,000 of your Peers! Sign-up for latest IP insights.

Subscribe to Our Weekly Newsletter

Join over 30,000 of your Peers! Sign-up for exclusive content and get the latest IP insights delivered directly to your inbox.

Skip to content