ExxonMobil pursues a patent on methane pyrolysis using stacked fluidized beds. This week’s newest patent applications are from ExxonMobil, Boston Scientific, Merck, Abbott, Medtronic, Roche, PayPal, Apple, IBM, Intel, and Microsoft.

ExxonMobil Pursues a Patent on Methane Pyrolysis Using Stacked Fluidized Beds
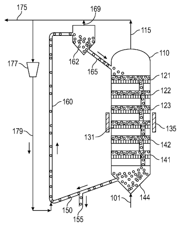
U.S. patent application, US20210331918, discloses methods for converting methane and/or other hydrocarbons to hydrogen by pyrolysis, while reducing or minimizing the production of carbon oxides. The conversion of hydrocarbons to hydrogen is performed in one or more pyrolysis or conversion reactors that contain a plurality of sequential fluidized beds. The fluidized beds are arranged such that the coke particles forming the fluidized bed move in a counter-current direction relative to the gas phase flow of feed (e.g., methane) and/or product (H2) in the fluidized beds. The figure below depicts a reaction system by ExxonMobil for performing methane pyrolysis using sequential fluidized beds.
Boston Scientific Files a Patent for a Device for Treating Tissues
U.S. patent application, US20210330327, discloses a device for treating tissue through an endoscope to cause hemostasis of blood vessels along a gastrointestinal tract. The device includes a capsule and compression clip with arms that are moveable between an open (tissue receiving configuration) and a closed (tissue clipping configuration). The figure below shows the device with the clipping arms grasping the tissue.
Merck Files a Patent for Immunogenic Compositions
U.S. patent application, US20210330778, relates to immunogenic compositions having one or more polysaccharide-protein conjugates in which one or more polysaccharides from Streptococcus pneumoniae bacterial capsules are conjugated to a carrier protein in an aprotic solvent, such as dimethylsulfoxide (DMSO). The application also provides methods for administering the immunogenic compositions to a human subject.
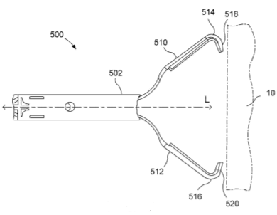
Abbott Wants to Patent a Coil Reinforced Superelastic Guidewire
U.S. patent application, US20210330943, discloses a superelastic nitinol guidewire for intraluminal application in medical procedures with improved torque and pushability in a proximal section. The figure below illustrates the proximal section showing a second multifilar wire being wound in a counterclockwise direction onto the first multifilar coil to form a second multifilar coil.
Medtronic Eyes a Patent for Emergency Management Implantable Drug Delivery Systems
U.S. patent application, US20210330884, discloses an implantable emergency management medicament delivery system to reverse the effects of a drug overdose. The system includes an infusion pump to infuse the drug, an emergency handling device with a sensor that monitors the patient’s condition, and an implantable medicament delivery mechanism that delivers medication to reduce the physiological effects of the drug overdose. The figure below depicts the overall implantable emergency management medicament delivery system.
Roche Seeks a Patent for a Laboratory Vessel Sample Distribution System
U.S. patent application, US20210333297, discloses a laboratory sample vessel distribution system. The system includes a cabinet, sample vessel carriers for receiving sample vessels, a drawer for receiving a sample vessel carrier, an actuator that moves the sample vessel and the carriers between different locations, and a sensor device that provides position signals.
PayPal Aims to Patent a Physical Stand for Multiple Device Orientations and a Peripheral Card Reader
U.S. patent application, US20210336952, discloses a physical device stand that includes a dock that allows for placement and securing of a computing device within a device case. The device dock further includes a physical card reader that allows for reading and entry of card data into the computing device to enable electronic transactions with an online service provider. The device stand allows the computing device to be viewed in multiple directions and orientations. The figure below illustrates a device stand having an invertible device case and a peripheral component contained within or protruding from a side of the device case.
Apple Wants to Patent a Folded Camera
U.S. patent application, US20210333529, discloses a folded camera. The folded camera includes two light folding elements such as prisms and an independent lens system located between the two prisms. The lens system includes an aperture stop and a lens stack and is movable independent of the prisms, on one or more axes, to provide autofocus and/or optical image stabilization for the camera. The figure below illustrates the folded camera.
IBM Seeks to Patent a Method for Text-Based Discourse Analysis and Management
U.S. patent application, US20210334471, discloses a method for evasiveness of postings and managing chat sessions. The method includes accessing a real-time text-based discourse session consisting of multiple text-based posts, determining rankings for each of the responses based on the evasiveness scores, and determining a display order for the responses based on the rankings of the responses. The figure below is the virtual window with the postings re-ordered based on the ranking of the responses.
Intel Pursues a Patent on a Method for Inference-Based Fast Charging
U.S. patent application, US20210336464, discusses a method to initiate inference-based fast charging of a battery. The method detects a user’s situation and checks if fast charging is needed and whether a charger can provide enough power to support both system and battery fast charging. If the charger cannot provide enough power, the system power is turned down and starts fast battery charging. Alternatively, when a charger can provide enough power the system starts fast charging to a sufficient charge level. The figure below illustrates inference-based fast charging.
Microsoft Files a Patent for Fading Compensation
U.S. patent application, US20210337213, describes a method for performing fading compensation in video processing applications. The method describes a video encoder performing fading compensation, during encoding, by using a scaling parameter and a shifting parameter on one or more reference images. Further, the method describes the video decoder performing fading compensation on one or more reference images. The figure below illustrates motion estimation in video encoders.











