Search
Close this search box.

Chevron Develops System for Hydrofracturing Processes

LinkedIn
X
Email

Chevron pursues a patent for hydrofracturing processes utilizing native drilling cuttings. This week’s newest patent applications are from Chevron, Roche, Boston Scientific, Abbott, Medtronic, Merck, Mastercard, IBM, Apple, Intel, and Microsoft.

42nd week patent 2021

Chevron Pursues a Patent for Hydrofracturing Processes Utilizing Native Drilling Cuttings

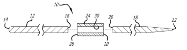
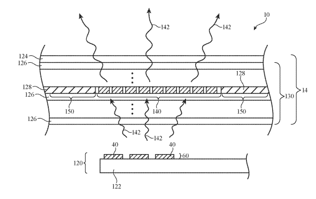
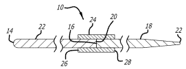
U.S. patent application, US20210324720, discloses systems for hydrofracturing processes utilizing native drilling cuttings to enhance wellbore permeability. The native drilling cuttings are obtained during drilling operations and used in hydrofracturing applications without further grinding or processing. The native drilling cuttings can be combined into a slurry and injected into a well for the hydrofracturing application. The figure below depicts an oilfield system and wellbore treated with hydrofracturing techniques.

Hydrofracturing Processes Utilizing Native Drilling Cuttings

Roche Seeks to Patent a Ph-Gradient SPR-Based Binding Assay

U.S. patent application, US20210325385, discloses a method for determining the dissociation rate constant k.sub.d of an antibody from its antigen at the dissociation pH-value. The method involves immobilizing the antigen-antibody conjugate on a solid phase at a first pH-value, applying a pH-gradient from the first pH-value to the dissociation pH-value, maintaining the pH-value at the dissociation pH-value, recording the binding signal during the maintaining of the pH-value and calculating the dissociation rate constant k.sub.d of the antibody from its antigen at the dissociation pH-value.

Boston Scientific Files a Patent for an In-Vivo Visualization System

U.S. patent application, US20210321861, discloses a medical visualization system having disposable and reusable components that are suitable for viewing and/or performing diagnostic and therapeutic modalities within a human body for the treatment of the duodenum and particularly the biliary tree. The figure below shows the medical visualization system.

Boston Scientific Files a Patent for an In-Vivo Visualization System

Abbott Aims to Patent a Guidewire Having Bonded Proximal and Distal Segments

U.S. patent application, US20210322730, discloses a guidewire for angioplasty and other vascular procedures. The guidewire includes a proximal core wire formed from a first metal alloy, a distal core wire formed from a second metal alloy, and a tubular member which connects the two wires together in a butting configuration. The figures below illustrate the guidewire prior to and after being assembled.

Abbott Aims to Patent a Guidewire Having Bonded Proximal Distal Segments

Medtronic Seeks to Patent an Implantable Medical Device Using Graphite to Spread Heat Inside the Device

U.S. patent application, US20210322758, discloses an implantable controller for an implantable medical device (IMD). The controller includes a metallic housing having processing circuitry to control the operation of the IMD, an aluminum encasement, and a piece of graphite (annealed pyrolytic graphite) to spread the heat released by the internal electronics of the controller. The figure below depicts a patient with a fully implantable blood pump with the controller.

Medtronic Seeks to Patent an Implantable Medical Device Using Graphite to Spread Heat Inside the Device

Merck Files a Patent for an Anti-RSV Antibody Formulation

U.S. patent application, US20210324052, relates to stable formulations with antibodies or antigen-binding fragments that bind to the respiratory syncytial virus (RSV), where the formulation comprises a) an anti-RSV antibody or antigen-binding fragment thereof, b) buffer; c) a stabilizer selected from the group consisting of: non-reducing sugar, L-arginine, or a mixture of the amino acids, a chelator; d) a non-ionic surfactant; and e) an antioxidant.

Mastercard Seeks to Patent a Method for Authorizing Credentials via a Voice-Enabled Device

U.S. patent application, US20210328800, discloses a method for allowing a payment cardholder to make secure user authentication payments using a voice-enabled device. A user device encodes encrypted authorization credentials into an inaudible soundwave and emits the inaudible soundwave via a speaker to the voice-enabled device. The voice-enabled device, while in a listening state, detects the inaudible soundwave via a microphone and decodes the inaudible soundwave for transmitting the cryptographically secured authorization information to a merchant server which confirms the authorization credentials.

IBM Wants to Patent a Method for Detecting Counterfeit Pharmaceutical and Biologic Products Using Progressive Data Analysis and Machine Learning

U.S. patent application, US20210326899, discloses a method for detecting counterfeit pharmaceutical and biologic products using progressive data analysis and machine learning. The method includes obtaining measurements and images corresponding to a product from an IoT device, providing it to a trained machine learning model, and determining whether the product is real or counterfeit based on a confidence score. The figure shows the illustration of utilizing the trained machine learning system for counterfeit product detection.

IBM Wants to Patent a Method for Detecting Counterfeit Pharmaceutical and Biologic Products Using Progressive Data Analysis and Machine Learning

Apple Eyes a Patent for Electronic Devices Having Antennas that Radiate Through a Display

U.S. patent application, US20210328327, discloses an electronic device having phased array antennas that radiate through a display. The display includes a display module configured to emit light through a display cover layer and a filter formed from conductive structures within a conductive layer. The filter is configured to pass electromagnetic signals within a frequency band of 10 GHz to 300 GHz. The figure shows the display module with the filter for passing radio-frequency signals from phased array antennas.

Apple Eyes a Patent for Electronic Devices Having Antennas that Radiate Through a Display

Intel Seeks to Patent a Method for Adjusting Display Characteristics Based on a User’s Presence

U.S. patent application, US20210327394, discloses a method for adjusting the brightness of a display of an electronic device. The method includes identifying the presence of a user’s face relative to the device based on image data and applying a brightness adjustment rule to adjust the brightness of the display from a first setting to a second setting after a first time interval based on a correlation of the detected presence of the face and a first device interaction event. The figure below illustrates adjusting display characteristics based on user presence.

Intel Seeks to Patent a Method for Adjusting Display Characteristics Based on a User's Presence

Microsoft Seeks to Patent a Method for Multi-Device Pairing to Form a Combined Display

U.S. patent application, US20210326093, discloses a method for multi-device pairing to form a combined display. The method includes recognizing a first input gesture partially based on touch screen inputs and pairing the first and second mobile devices. The method further includes recognizing a second input gesture as a request to display a split-screen view of an object when the mobile devices form a combined display when positioned proximate to each other. The figure shows gesture recognition in multi-device pairing.

Patent a Method for Multi-Device Pairing to Form a Combined Display

LinkedIn
X
Email

Have any content requests?

You can let us know at [email protected]

Recent Blog Posts

Subscribe to Our Weekly Newsletter

Join over 30,000 of your Peers! Sign-up for latest IP insights.

Subscribe to Our Weekly Newsletter

Join over 30,000 of your Peers! Sign-up for exclusive content and get the latest IP insights delivered directly to your inbox.

Skip to content