Boeing pursues a patent on avian-deterring lighting systems for aircrafts.
This week’s newest patent applications from Boeing, Boston Scientific, Roche, Abbott, Medtronic, Merck, Visa, Intel, Apple, Microsoft, and IBM.

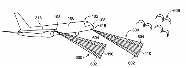
Boeing Pursues a Patent on Avian-Deterring Lighting Systems for Aircrafts
U.S. patent application, US20210206510, discloses lighting systems from Boeing for deterring birds from an aircraft. The lighting assembly is coupled to the exterior of the aircraft and includes an ultraviolet (UV) light-emitting element that emits UV light outside of the aircraft. The figure below illustrates a lateral view of the aircraft emitting light from lighting assemblies coupled to its exterior.
Boston Scientific Files a Patent for an Ambulatory Dehydration Monitoring System
U.S. patent application, US20210204874, discloses an ambulatory system for determining a patient’s dehydration level during cancer therapy using heart sound, impedance, respiration, posture or activity, chemical information of the patient, and by counting patient vomiting events. The figure below illustrates the patient monitoring system.
Roche Eyes a Patent for a Method for Nucleic Acid Isolation
U.S. patent application, US20210207125, discloses a method for the isolation of nucleic acids for long sequencing reads. The method involves extracting a blood plasma sample, subjecting the plasma to a detergent and protease treatment to obtain a precipitate, contacting the precipitate with an alcohol buffer, contacting the initial sample with a nucleic-acid separation matrix, eluting the nucleic acid into an elution volume, concentrating the elution volume into 2-fold and then passing it through a semipermeable polymer membrane.
Abbott Wants to Patent Focused Sterilization and Sterilized Sub-Assemblies for Analyte Monitoring Systems
U.S. patent application, US20210204841, discloses an in vivo analyte monitoring system that is subjected to focused radiation sterilization. The system includes a sensor, an applicator, a sensor control device arranged within the applicator, an electronics housing, and a removable cap. The figure below depicts the sensor control device and an example delivery of the sensor control device.

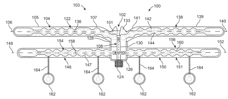
Medtronic Seeks to Patent a Bioelectric Sensor Device
U.S. patent application, US20210204879, discloses sensor devices for sensing bioelectric data from a human body. The device aids in the placement of multiple leads of an implantable device to monitor cardiac activity, fine-tune pacing, and sensing parameters of the implanted device. The figure below shows the bioelectric sensor, and the sensor disposed on the lateral and anterior surfaces of the torso of a patient.
Merck Aims to Patent Injectable Pharmaceutical Compositions of L-Epinephrine
U.S. patent application, US20210205238, relates to injectable pharmaceutical compositions comprising epinephrine, an antioxidant selected from the group consisting of sodium metabisulfite, sodium sulfite, and sodium bisulfite, tartrate, a tonicity regulating agent, EDTA or sodium EDTA.2H2O. The composition is used for treating epinephrine-required medical conditions, including allergic emergencies, such as anaphylaxis.
Visa Seeks to Patent a Computer-Implemented Method for Performing a Restricted Transaction
U.S. patent application, US20210209580, discloses a method for restricting a payment transaction upon detecting that a portion of a payment card is utilized during the transaction. The payment card includes a first portion configured with a primary chip and a second portion configured with a secondary chip that is detachable. The method includes receiving card details, a transaction amount, and signature data of the payment card during the transaction and restricting the transaction to a predefined limit when only the first portion or the second portion of the card is used for the transaction.
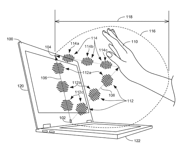
Intel Aims to Patent an Apparatus for Detecting the Proximity of Objects to Computing Devices Using Near Ultrasonic Sound Waves
U.S. patent application, US20210208664, discusses an apparatus for detecting the proximity of objects to computing devices using near ultrasonic sound waves. The apparatus includes a signal generator producing a series of acoustic pulses, a microphone detecting the acoustic pulses and their echoes from nearby objects, and an object detection analyzer determining whether the object is within an activation region of the computing device based on the pulses and echoes sensed by the microphone. The figure below illustrates detecting a user’s arm near a laptop.
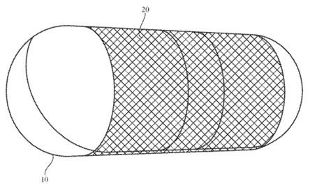
Apple Wants to Patent Structured Fabrics for Electronic Devices
U.S. patent application, US20210212228, discloses a structured fabric acting as a protective case or cosmetic cover for an electronic device. The structured fabric comprises a warp-knit fabric laminated with a stiffener such as a polymer film, where openings in the wrap-knit fabric and the stiffener are aligned to allow optical or audio signals to pass through. The figure below depicts the structured fabric covering the electronic device.

With Apple’s new technology, audio conversations can now be seamlessly transitioned to face-to-face video chats. This cutting-edge development allows for a smooth transition between communication methods without missing a beat!
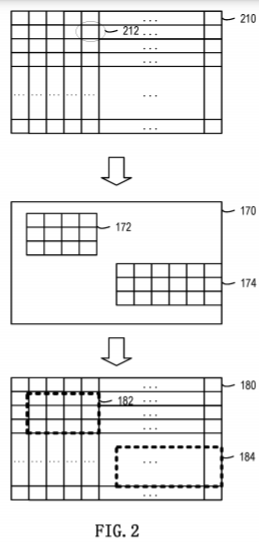
Microsoft Seeks to Patent a Method for Table Detection in a Spreadsheet
U.S. patent application, US20210209297 describes a method for detecting a table in a spreadsheet. The method includes fetching attributes from multiple cells of the spreadsheet, extracting features, splitting the multiple cells into at least one candidate region based on the features, and determining the existence of the table in the spreadsheet based on the candidate region. The figure below depicts the method for detecting a table in the spreadsheet.
IBM Aims to Patent a Method for Sensor Data Collection Control Based on Natural Language Interaction
U.S. patent application, US20210209310, discloses a method for sensor data collection control based on a natural language interaction. The method includes determining a sensor activation plan based on a discourse pattern obtained by analyzing a set of natural language interactions, detecting a pattern having an above threshold similarity to the discourse pattern and adjusting the configuration of a sensor according to the sensor activation plan. The figure below illustrates the sensor data collection control based on the natural language interaction.











