Apple wants to patent an untethered wireless audio system. This week’s newest patent applications are from CNH Industrial, Boston Scientific, Merck, Abbott, Medtronic, Roche, Novartis, Mastercard, Apple, IBM, Intel, and Microsoft.

CNH Industrial Pursues a Patent on a Harvesting Unit
U.S. patent application, US20210337732, discloses a harvesting machine comprising a motorized support structure that is movable along rows of plants and on which such a harvesting unit is mounted for detaching crops from said plants. The unit further includes a shaker system comprising a shaker device that has a drum operable to detach the crop from the plants, a rotational driving mechanism for the drum, and an oscillatory driving mechanism for the drum. The figure below illustrates the top part of the harvesting unit.
Boston Scientific Files a Patent for a Non-Invasive Bladder Cancer Detection System
U.S. patent application, US20210341409, discloses a non-invasive bladder cancer detection system. The system includes a chemical sensor element having a plurality of discrete graphene varactors that is contacted with a liquid biological sample and a sensing device that interfaces with the chemical sensor element to sense a capacitance of the discrete graphene varactors. The figure below illustrates the cancer detection system.
Merck Files a Patent for Vaccine Compositions for Preventing Coronavirus Disease
U.S. patent application, US20210338804, discloses recombinant vesicular stomatitis virus (VSV) vectors for use as vaccines for infectious coronavirus disease COVID-19. The recombinant VSV vectors include a VSV genome and a nucleic acid sequence encoding a SARS-CoV-2 S protein or an immunogenic variant.
Abbott Wants to Patent a Method for Aiding the Diagnosis of Traumatic Brain Injury
U.S. patent application, US20210341481, discloses a method that aid in the diagnosis and evaluation of a human subject with sustained injury to the head, such as mild or moderate to severe traumatic brain injury (TBI), using an early biomarker, ubiquitin carboxy-terminal hydrolase L1 (UCH-L1). The method involves detecting levels and changes in levels of UCH-L1 within 24 hours after the subject has sustained an injury to the head.
Medtronic Eyes a Patent for Visualization of Arrhythmia Detection by Machine Learning
U.S. patent application, US20210338138, discloses a system for visualizing an output of a machine learning system that detects cardiac arrhythmia in a patient. The system applies a machine learning model trained using ECG data from a plurality of patients, determines an episode of arrhythmia based on a level of confidence that the episode of the selected type has occurred, and outputs an indication of the occurrence. The figure below illustrates the medical device system.
Roche Seeks a Patent for an Informatics Platform for Integrated Clinical Care
U.S. patent application, US20210343429, discloses an informatics platform to integrate information from relevant patient information systems. The system includes a visual timeline of patient events, a virtual PinBoard for users to identify relevant patient information, an application interface, and a collaboration interface that facilitates the communication of patient-specific information and documents. The figure below shows the user interface of the platform.
Novartis Aims to Patent a Method for Treating Ocular Diseases
U.S. patent application, US20210340242, discloses a method for reducing the treatment burden for patients with an intraocular neovascular disorder with less frequent dosing than the currently approved treatment regimens. The method includes administering a therapeutically effective amount of VEGF antagonist on a dosing schedule that includes treatment intervals of 8 and/or 12 weeks.
Mastercard Seeks to Patent a Method for Verifying User Identities During Transactions Using Identification Tokens That Include User Face Data
U.S. patent application, US20210342850, discloses a method for enabling authentication of a user’s identity based on a user identification (ID) token. An identity platform verifies the user’s identity using data in an enrollment request received from a computing device and generates the ID token comprising a face identification template and payment account data associated with the user. The computing device then receives the ID token and verifies the user’s identity based on a comparison of the captured image data of the user’s face to the face identification template of the ID token during payment transactions associated with the computing device.
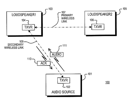
Apple Wants to Patent an Untethered Wireless Audio System
U.S. patent application, US20210345044, discloses an untethered wireless audio system that includes a first and second wireless transceiver configured to receive audio information wirelessly transmitted by an audio source. The first wireless transceiver establishes a bidirectional secondary wireless link with the audio source for receiving and acknowledging receipt of the audio information. The first and second wireless transceivers communicate via a primary wireless link. The figure below illustrates the untethered wireless audio system which eliminates the need for a wired connection between the first and second wireless transceivers.
IBM Aims to Patent a Method for Composite Imagery Rendering in Diminished Reality Environment for Medical Diagnosis
U.S. patent application, US20210343049, discloses a method for composite imagery rendering in a diminished reality environment for medical diagnosis. The method includes analyzing medical imagery scans for a patient, creating a composite image of the patient by combining relevant portions of the medical imagery scans with the real-time images of the patient, diminishing selected portions of the composite image, and rendering the composite image in a diminished reality environment. The figure below illustrates composite imagery rendering in a diminished reality environment for medical diagnosis.
Intel Aims to Patent a Method to Facilitate User Interactions with Foldable Displays
U.S. patent application, US20210342025, discloses a method to facilitate user interactions with a foldable display. The method includes detecting a hover event via a hover sensor included within a first region, a touch event via a touch sensor included within a second region, and generating interactive content on the display. The interactive content differs between a first appearance and a second appearance depending on whether it is rendered in the first region or the second region. The figure below illustrates a computing device with a foldable display.
Microsoft Seeks to Patent a Foldable Mouse
U.S. patent application, US20210342018, describes a foldable mouse including a two deformable body configuration, where the first configuration receives computing device inputs and the second configuration embeds the first portions of the folded deformable body. The mouse also includes an input sensor disposed on the deformable body to detect tactile input, a motion tracking component to detect the movement of the computer mouse. The figure below illustrates a section view of the deformable body of the foldable mouse.










