This week’s newest patent applications are from HERE Global, Medtronic, Roche, Abbott, Novartis, Boston Scientific, Visa, IBM, Microsoft, Apple, and Intel. Discover Apple’s camera-based transparent display technology, a revolutionary concept that is set to revolutionize our view of the world. Explore patents and learn all about this cutting-edge capability!
HERE Global Pursues a Patent on a Method for Determining Map Improvements Based on Detected Accidents
U.S. patent application, US20220172614, discloses an approach for determining map improvements based on detected accidents. The approach involves determining that a vehicle was involved in an accident, receiving a report indicating map data configured in the vehicle at the time of the accident, and determining an association between the configured map data and the accident. The association and at least one map change to the configured map data based on the determined association are determined and transmitted to the vehicle, at least one other vehicle, the database, and/or the computing device. The figure below represents a system capable of evaluating, reporting, and handling an autonomous vehicle involving an accident and/or malfunction.
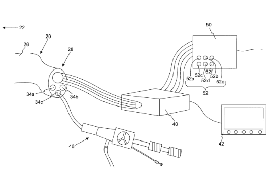
Medtronic Eyes a Patent for Intracardiac Tools for the Delivery of Electroporation Therapies
U.S. patent application, US20220168043, discloses a medical device for the treatment of cardiac tissue using high voltage energy for irreversible electroporation (IEP) ablation. The device includes a plurality of deployable arms, electrodes, and an electric signal generator programmed to deliver sufficient pulsed energy to induce IEP in the targeted cardiac tissue region. The figure below illustrates the medical system.
Roche Seeks to Patent a Method for the Reduction of Host Cell Proteins
U.S. patent application, US20220169675, discloses a method for purifying an antibody by reducing the content of a host cell protein using affinity chromatography. The method includes contacting a protein A chromatography material with the sample and washing the protein A chromatography material with a low conductivity aqueous solution that has a value of about 0.5 mS/cm or less to reduce the amount of the host cell protein.
Abbott Wants to Patent Devices for Analyte Sensor Insertion
U.S. patent application, US20220167919, discloses a system for the delivery of an analyte sensor by a reusable applicator for use with in vivo analyte monitoring systems. The reusable applicator includes a sensor carrier to releasably receive a first analyte sensor, a sharp carrier to releasably receive a sharp module, and an actuator movable relative to the housing into three positions to deliver the analyte sensor. The figure below illustrates the applicator device.
Novartis Seeks a Patent for Chimeric Antigen Receptor-Expressing Cells
U.S. patent application, US20220168389, relates to subcutaneous or intradermal administration of a pharmaceutical composition containing immune effector cells (e.g. T cells, NK cells) expressing chimeric antigen receptor (CAR) for the treatment of cancer.
Boston Scientific Files a Patent for an Endoscopic System for Enhanced Visualization
U.S. patent application, US20220167840, relates to a medical device that can be inserted into a body and allows a surgeon to visualize a region inside the body. The system includes an elongate member extending from a proximal end to a distal end, an imaging device, and a plurality of light sources positioned at the distal end of the elongate member. The figure below illustrates the proximal end of the endoscope.
Visa Eyes a Patent for a Real-Time Risk-Based Payment Decision Service for a Transit System
U.S. patent application, US20220172213, discloses a method for receiving payment account information associated with a user of a transit system and performing a risk analysis to determine a risk score based on certain parameters of the account information. The method includes determining whether the user is a high risk by comparing the risk score to a predetermined risk threshold, thus reducing the number of transit users having to be placed on a deny list.
IBM Aims to Patent a Piezoelectric Device for Powering a Smart Contact Lens Using Eyelid Movement
U.S. patent application, US20220171218, discloses a piezoelectric device for powering smart contact lenses using eyelid movement. The piezoelectric device includes a piezoelectric film attached to an eyelid, a smart contact lens in an eye, and an antenna surrounding the eye. The piezoelectric film generates electrical energy from the eyelid movement during the blinking of the eye and the smart contact lens receives the energy from the antenna. The figure below illustrates the piezoelectric films attached to the eyelid when the eye is open and closed.
Microsoft Seeks to Patent a Method for Executing a Single-Handed Micro Gesture Input
U.S. patent application, US20220171469, describes a method for executing a single-handed micro gesture input assigned to positions along a length of a finger. The method includes analyzing the received hand tracking data by a gesture recognition machine, determining the location of the thumb tip of a user’s hand relative to the positions along with the finger, and selecting the micro gesture target based on the duration the thumb tip is at a particular position and executing the micro gesture target. The figure below illustrates the execution of the micro gesture input in an augmented reality environment by a user wearing a head-mounted display.
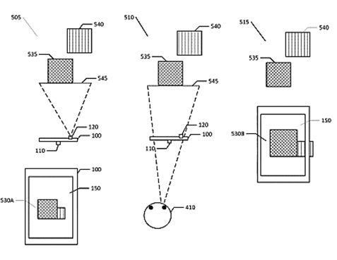
Apple Aims to Patent a Camera-Based Transparent Display
U.S. patent application, US20220172319, discloses an electronic device that provides a camera-based transparent display. The device comprises a camera and a display that have a first spatial relationship and presents an image of a scene captured by the camera on the display. The device determines a second spatial relationship between a viewpoint and the display, warps the image to obtain an image of the first portion of the scene based on the spatial relationships, and presents the warped image on the display. The warped image is substantially contiguous with a portion of the scene visible outside an edge of the electronic device from the viewpoint. The figure below illustrates displaying the warped image of a real environment.
As the tech sector looks to innovate and provide enhanced user experiences, foldable devices are pushing the boundaries of UI design. Consumers now consider a well-crafted interface essential when choosing their mobile communication devices.
Intel Seeks a Patent for a Self-Healing Low-Speed Serial Interface
U.S. patent application, US20220171669, describes a method to monitor the status of a serial data signal on a low-speed serial bus by configuring a watchdog timer in each target device, sending a heart-beat command to all of the target devices over the low-speed serial bus, and issues a broadcast read command to any one of the target devices on the low-speed serial bus. A response to the broadcast read command confirms that the low-speed serial bus is functional and initiates a broadcast reset command to initialize all target devices on the low-speed serial bus. The figures below illustrate a bus of one or more target devices to configure a watchdog timer in the target devices.
Unlock the power of Symphony IPMS with transparent renewals you can trust for cost-effective management of your Intellectual Property portfolio.











