Let’s look at the top five companies revolutionizing thermal management in electric vehicles (EVs) and see what they’ve been patenting or seeking to patent from information made publicly available by the United States Patent and Trademark Office (USPTO).
Mahle International
Founded in 1920, Mahle is one of the largest automotive part suppliers in the world. It develops thermal management solutions for electric vehicles, such as battery cooling systems and powertrain components. The German-based company’s concepts are designed to utilize waste heat from the electric motor and power electronics by using an electronic compressor to ensure high energy efficiency, which can extend the cruising range in battery-powered electric vehicles. Mahle claims that a vehicle’s battery range can be increased significantly by up to 20 percent using its innovative technology.

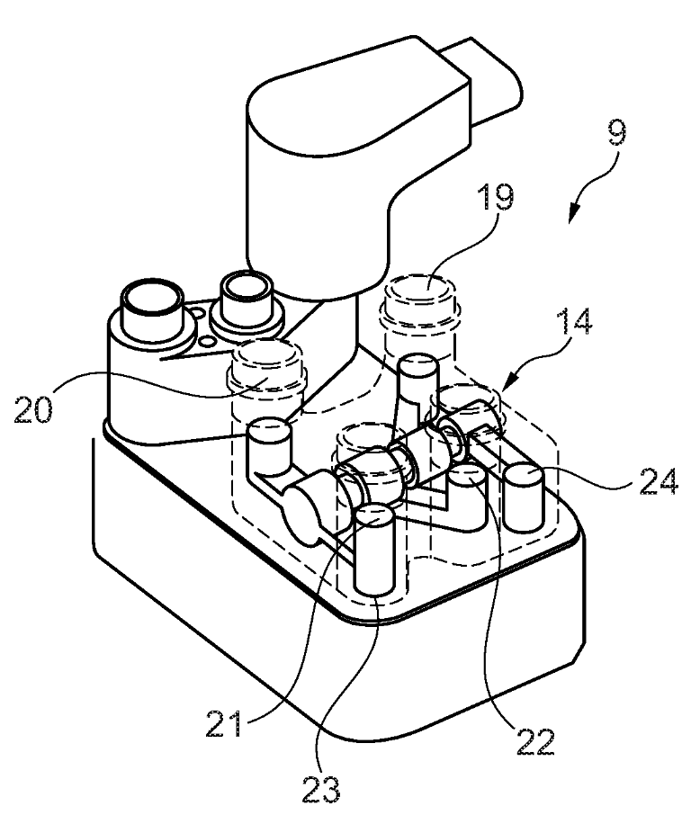
US patent application US20200335838A1 titled “Device for Cooling a Battery” assigned to Mahle International describes a device for cooling a vehicle battery in an electric or hybrid motor vehicle. The device comprises a coolant circuit, a refrigerant circuit, and a first valve device. The coolant circuit further comprises a coolant cooler, a coolant pump, and a chiller. The chiller is additionally incorporated in the refrigerant circuit, which further comprises a compressor, a condenser, and an evaporator. The first valve device allows for the efficient division of coolant flow between the chiller and the coolant cooler.
Valeo
The French automotive parts giant, Valeo, was founded in 1923. It has developed innovative systems to optimize engine thermal management, improve the energy efficiency of passenger comfort systems, improve vehicle aerodynamics, and lighten vehicles, thereby reducing fuel consumption and emissions of carbon dioxide and harmful gases and particles. The growing use of electronics in vehicles has necessitated new thermal management solutions to ensure passenger comfort without compromising vehicle autonomy.

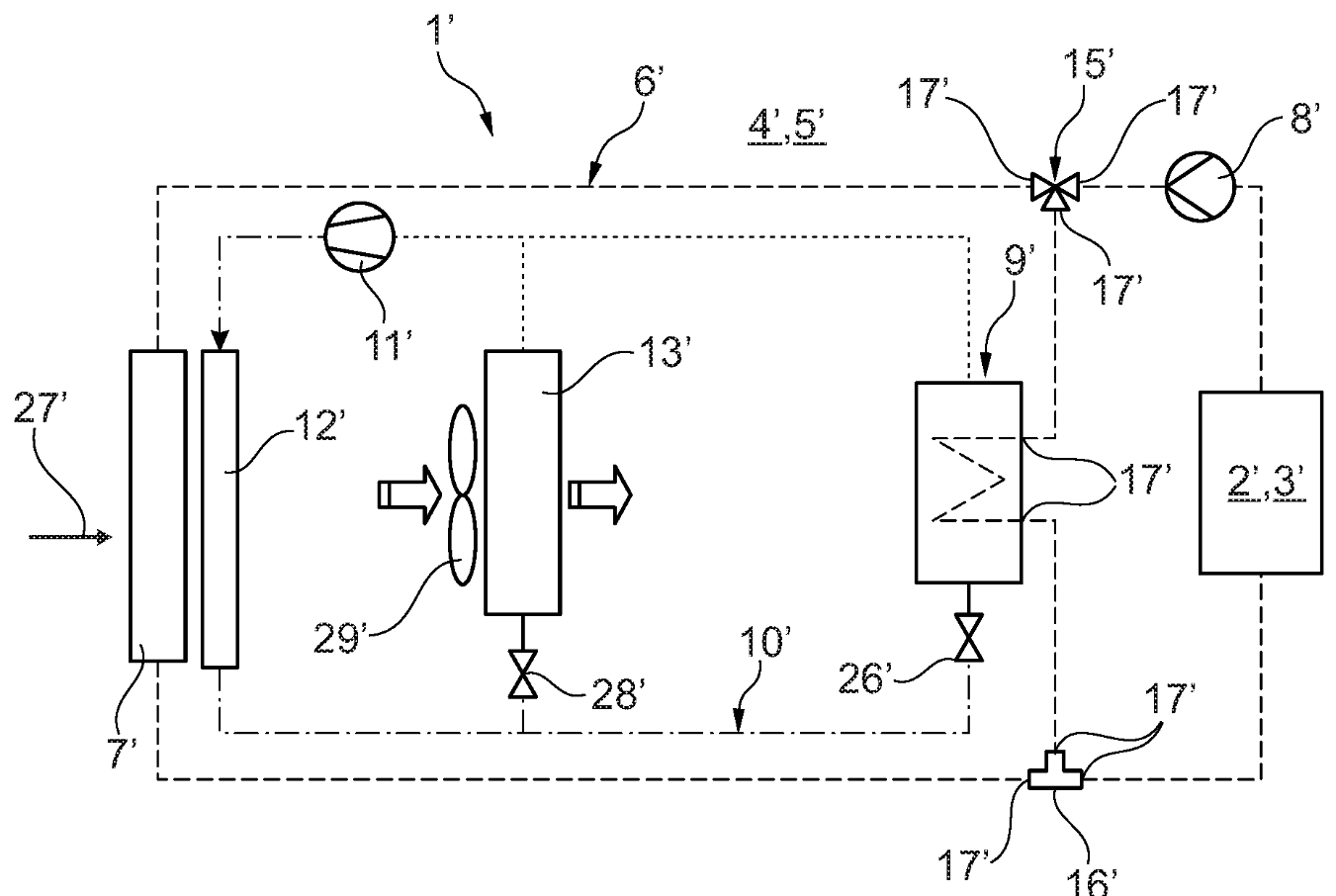
PCT application WO2021116629A1 titled “Device for Cooling a Battery Pack” assigned to Valeo Systemes Thermiques describes a device for cooling a plurality of electronic elements arranged in a housing that generate heat when supplying power to an appliance or a vehicle. The device comprises at least one element for projecting a two-phase dielectric fluid onto the electronic elements, as well as a condenser with a cooling fluid circuit. The housing includes a dielectric fluid recovery tank. The cooling device comprises a dielectric fluid circuit, provided with a circulation pump configured to draw the dielectric fluid from the recovery tank and deliver the fluid to the spraying element.
Denso
Denso was founded in 1949 following its separation from Toyota Motor in Kariya, Japan. Its present focus with respect to electric vehicles is on components, such as high-power inverters, motors, and batteries, and also on control and management technologies to maximize the performance of electric-drive vehicles. The company’s thermal management device for vehicle systems uses a heat pump. The system extracts high-density vapor and injects it into a compressor to improve performance in cold environments, thereby overcoming the drawback of a heat pump.
US patent application US20210016628A1 titled “Thermal Management Device for Vehicle” assigned to Denso describes a thermal management system for a vehicle that includes a heating refrigerant circulation circuit, a heat pump cycle, and a heat-discharge refrigerant circulation circuit. The system is designed to absorb the exhaust heat of in-vehicle devices (e.g., a battery [50]) and recirculate the heat. The system utilizes a heat pump cycle to absorb the heat via a fluid to facilitate heat exchange. The heat-discharge refrigerant circulation circuit uses the heated fluid to dissipate the absorbed heat to the outside air or as a heat source for heating ventilation air to be blown into the vehicle compartment.
QuantumScape
QuantumScape is an early-stage Silicon Valley battery company, founded in 2010. It is developing next-generation solid-state batteries using lithium metal anodes and a stable electrolyte that can simultaneously meet the requirements of high energy density, fast charge, long cycle life, and wide temperature range operation. The battery technology claimed by its founder, Jagdeep Singh, and his team promises to extend the range of electric cars by as much as 50% over today’s lithium-ion technology while reducing charge time for a long drive to just 15 minutes. QuantumScape’s biggest shareholder is Volkswagen, the world’s largest automaker, which is betting big on the technology. The highly valued startup believes that stable electrolytes have higher strength density, which allows for squeezing extra power out of smaller and lighter batteries. Solid electrolytes are also reported to be better at thermal management and less reliant on the types of cooling structures discovered in today’s EVs.
US patent application US20210197692A1 titled “Thermal Management System for Vehicles with an Electric Powertrain” assigned to Quantumscape Battery Inc describes a thermal management system designed to enable a plurality of components to operate on a single thermal circuit and exchange thermal energy between the battery system, other powertrain components, and climate control components, as needed. A single or simple thermal circuit allows for a faster rate of heating and cooling.
Rivian
Rivian, an Irvine-based electric vehicle manufacturer, was founded in 2009. The highly valued company is producing its R1T pickup truck and R1S SUV, as well as commercial delivery vans for Amazon. It develops batteries that have a special heating and cooling circuit that can intelligently prepare a battery for its best temperature according to need. In a very cold environment, the battery is maintained at a higher temperature to maximize its efficiency. The same principle is applied to a separate traction circuit to keep the motor and inverter in their best condition. The motor and inverter have a water-glycol circuit for cooling the stator and power electronics, and a third circuit for the passenger compartment and inverter.

US patent application US20210126301A1 titled “Cylindrical Battery Cell Packaging and Cooling Configuration,” assigned to Rivian Automotiv,e describes systems and methods that improve cooling for batteries. In this method, battery cells are coupled at the ends of the cells to opposite sides of a cooling plate. There may be one or more battery cells on each side of the cooling plate which are arranged in rows that are offset from each other to increase packing density (e.g., in a hexagonal close-packed arrangement). Each battery cell may have a vent on the end not coupled to the cooling plate that is configured to release gas during a thermal event, such as cell overcharging or failure. The cooling plate has good thermal coupling and may contain a cooling fluid such as ethylene glycol and water solution, propylene glycol, and water solution, methanol solution, etc. The cooling plate may be generally rectangular in shape, with an input port for the cooling fluid to enter the cooling plate and an output port for the cooling fluid to exit the cooling plate. The method includes supplying a cooling fluid to the input port of the cooling plate. The method further includes discharging the heated cooling fluid through the output port of the cooling plate, thereby removing heat generated from the battery cells.
Click here to know more about our Search Services.







