This week’s newest patent applications are from Scuola, Abbott, Novartis, Merck, Roche, Boston Scientific, Medtronic, PayPal, Intel, IBM, Microsoft, and Apple. We shall look deeper into the IBM new patent on currency conversion in media content.
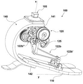
Scuola Pursues a Patent on a Wearable Robotic Device for Moving a User
U.S. patent application, US20220008226, discloses a robotic device for the movement of a user. The robotic device comprises an interface frame arranged to connect the device to a lower limb /prosthesis, a resilient element, and a switching device. The robotic device is used for the movement of a user having the practicality of using a prosthesis or a passive exoskeleton, but however does not need energy compensation by the user to obtain sufficient thrust to perform a step. The figures below illustrate the robotic device with the lower portion and the resilient element forming the foot prosthesis

Abbott Wants to Patent a Glucose Monitoring System
U.S. patent application, US20220013224, relates to a glucose monitoring system that is used along with insulin infusion devices. The system includes two display units with user interfaces having different controls like a restrictive caregiver and user control for assisting a user in maintaining proper blood glucose levels. The figure below shows the hierarchical permission scheme of the medical device with a restrictive control and without a restriction respectively.

Novartis Seeks a Patent for a C-RAF Inhibitor
U.S. patent application, US20220008426, relates to the oral administration of a c-RAF inhibitor, N-(3-(2-(2-hydroxyethoxy)-6-morpholinopyridin-4-yl)-4-methylphenyl)-2-(tr-ifluoromethyl)isonicotinamide for the treatment of cancer with KRAS-mutation.
Merck Aims to Patent a Method for Treating Metastatic Pancreatic Adenocarcinoma
U.S. patent application, US20220010016, discloses a method of treating metastatic pancreatic adenocarcinoma, which uses therapeutically effective amounts of each of a peptide, and a chemotherapy. The chemotherapy includes pembrolizumab, irinotecan, fluorouracil (5-FU) and leucovorin (LV) as chemotherapeutic agents.
Roche Wants to Patent Molecular Detection and Counting Using Nanopores
U.S. patent application, US20220011292, discloses a method to quantify target analytes, including nucleic acids and polypeptides using nanopore detectable barcodes. The method includes a target nucleic acid molecule hybridized by a primer resulting in a target nucleic acid-primer complex, extending the primer using modified nucleotides that contain barcode units resulting in a target-modified nucleotide polymer complex, isolating the modified nucleotide polymer, and then detecting and/or quantifying the modified nucleotide polymer using a nanopore. The figure below depicts protein detection using nanopore-detectable barcodes.
Boston Scientific Files a Patent for an Acoustic Tissue Identification System
U.S. patent application, US20220008130, relates to a catheter system configured to enhance the intravascular lithotripsy therapeutic outcome by providing real-time feedback on vessel patency and optimization of the therapy delivery parameters. The system includes an acoustic energy source, a balloon, an energy guide, and a tissue identification system. The figure below illustrates a catheter system including a tissue identification system.
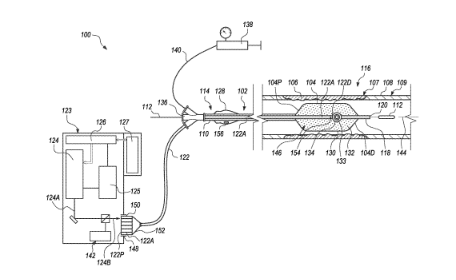
Medtronic Eyes a Patent for a Sealed Acoustic Speaker
U.S. patent application, US20220014829, discloses a sealed acoustic speaker that is utilized with any suitable medical device such as a ventricular assist device controller having audible alarm systems. The speaker includes a frame with two major surfaces, an opening in between the major surfaces, a cone, and an adhesive layer that occludes the opening of the frame. The figure below illustrates the cross-section view of the speaker.
PayPal Seeks to Patent a Method for Migration of Electronic Shopping Carts Between Devices
U.S. patent application, US20220012795, discloses a method for facilitating the migration of electronic shopping carts from an untrusted device to a trusted device via a session transfer selectable element displayed on a merchant website checkout page. The method includes displaying the encoded cart data on the untrusted device as emoji icons or an animated QR code upon receiving a request for transferring the electronic shopping cart and re-generating the electronic shopping cart on the trusted device for performing the purchase transaction when the encoded code is successfully inputted on the trusted device.
Visa is taking account verification to new heights. The credit card giant has announced plans to utilize innovative drone technology in order to verify customers’ accounts and identities with greater accuracy, speed, and reliability than ever before!
Intel Aims to Patent a Method for Contextual Usage Control of Cameras
U.S. patent application, US20220012491, discloses a method for implementing contextual control of a camera and/or image processing based on the content, voice commands, and/or visual markers. The method includes intelligently detecting objects/human activities in the images and marking the objects with contextual readable visual identifiers for executing the camera control naturally via voice commands. The figures below illustrate automatically processing the voice commands relating to the visual markers overlayed on the images and changing the focus of the camera without a user manually operating the camera controls.

IBM Files a Patent for a Method of Currency Conversion in Media Content
U.S. patent application, US20220012724, describes a method of currency conversion in media content. The method includes determining a currency captured in the received piece of media, updating the currency based on the user preferences, and displaying the updated currency to the user. The figure below illustrates the media content displaying the updated currency.
Microsoft Aims to Patent a Method for Multi-User Intelligent Assistance
U.S. patent application, US20220012470, describes a method for multi-user intelligent assistance. The method determines a self-selection score for a recorded speech spoken by a user using an intelligent assistant, compares the self-selection score to the remote-selection score received from another intelligent assistant, and responds to the user when the self-selection score is greater than the remote-selection score. The figure below depicts an example environment with the intelligent assistant.
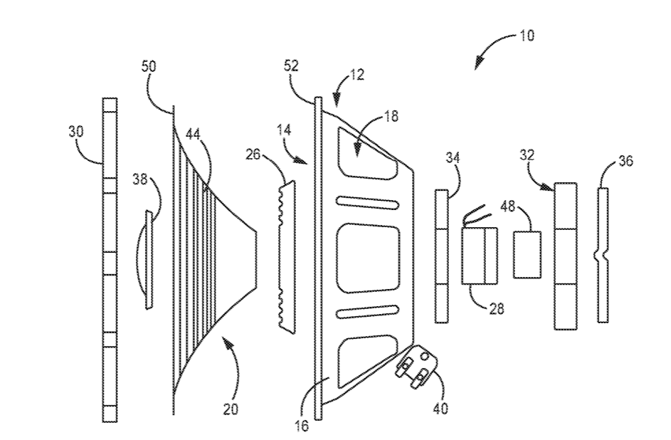
Apple Pursues a Patent on a MEMS Speaker
U.S. patent application, US20220014853, discloses a microelectromechanical systems (MEMS) speaker employed in an electronic device. The MEMS speaker includes an electrostatically driven, corrugated MEMS structure to move air to generate sound without a magnet, coil, or traditional speaker membrane and provides a low-power, compact speaker with a large acoustically active area in a small volume. The figure below shows the electronic device with the MEMS speaker.













